Texas Instruments Émetteur-récepteur FMCW monopuce IWR2243
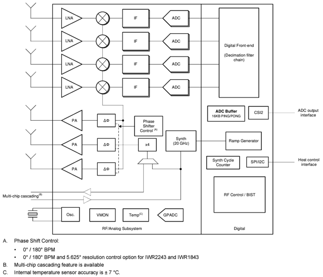
L'émetteur-récepteur FMCW monopuce IWR2243 de Texas Instrument peut fonctionner dans la bande de 76 GHz à 81 GHz. L'appareil permet des niveaux d'intégration sans précédent dans un format extrêmement réduit. L'IWR2243 est une solution idéale pour les systèmes radar basse consommation, auto-surveillés et ultra-précis dans l'espace industriel.L'IWR2243 est une solution monopuce d'émetteur-récepteur FMCW autonome qui simplifie la mise en œuvre des capteurs radar. Il est construit sur le processus RFCMOS 45 nm basse consommation de TI, qui permet une implémentation monolithique d'un système 3TX, 4RX avec des convertisseurs CAN et PLL intégrés. De simples modifications du modèle de programmation peuvent permettre diverses implémentations de capteurs avec la possibilité de reconfiguration dynamique pour la mise en œuvre d'un capteur multimode. Le périphérique IWR2243 prend en charge la connexion de plusieurs appareils en cascade. Cette fonctionnalité améliore la résolution angulaire pour répondre au développement de capteurs radar hautes performances.
Caractéristiques
- Émetteur-récepteur FMCW
- BVP, émetteur, récepteur, bande de base et CAN intégrés
- Couverture de 76 GHz à 81 GHz avec bande passante de 5 GHz disponible
- Quatre canaux de réception
- Trois canaux d'émission
- Moteur chirp ultra-précis basé sur une PLL n-fractionnée
- Puissance d'émission 13 dBm
- Facteur de bruit de réception 13 dB
- Bruit de phase à 1 MHz
- -96dBc/Hz (76 GHz à 77 GHz)
- -94dBc/Hz (77 GHz à 81 GHz)
- Étalonnage et auto-test intégrés
- Micrologiciel intégré (ROM)
- Système d'auto-étalonnage sur l'ensemble de la fréquence et de la température
- Interface hôte
- Interface de contrôle avec un processeur externe via l'interface SPI ou I2C
- nterface de données avec un processeur externe sur MIPI D-PHY et CSI2 v1.1
- Interruptions pour rapport de défauts
- Conforme à la sécurité fonctionnelle
- Développé pour les applications de sécurité fonctionnelle
- Documentation disponible pour faciliter la conception de systèmes de sécurité fonctionnelle CEI 61508 jusqu'à SIL-3
- Intégrité matérielle jusqu'à SIL-2
- Certification liée à la sécurité
- CEI 61508 certifié jusqu'à SIL-2 par TUV SUD
- Caractéristiques avancées de l'IWR2243
- Autosurveillance intégrée avec implication limitée du processeur hôte
- Architecture de bande de base complexe
- Possibilité de mettre en cascade plusieurs appareils pour augmenter le nombre de canaux
- Capacité de détection d'interférences intégrée
- Gestion de l'alimentation
- Réseau LDO intégré pour un PSRR amélioré
- Les E/S prennent en charge la double tension 3,3 V/1,8 V
- Source d'horloge
- Prend en charge l'horloge pilotée en externe (carré/sinusoïdal) à 40 MHz
- Prend en charge une connexion à quartz de 40 MHz avec des condensateurs de charge
- Conception matérielle facile
- Boîtier BGA à puce retournée 161 broches de 10,4 mm × 10,4 mm, pas de 0,65 mm, pour un assemblage facile et une conception PCB économique
- Petite taille de solution
- Plage de température de jonction de -40 °C à 105 °C
Applications
- Capteur industriel pour la plage de mesure, la vitesse et l'angle
- Robotique
- Surveillance du trafic
- Surveillance et sécurité
- Protections de sécurité pour l'automatisation d'usine
- Radar d'imagerie utilisant une configuration en cascade
Schéma fonctionnel
Publié le: 2024-01-19
| Mis à jour le: 2024-01-31
