Texas Instruments Pilote moteur BLDC sans capteur triphasé DRV10983
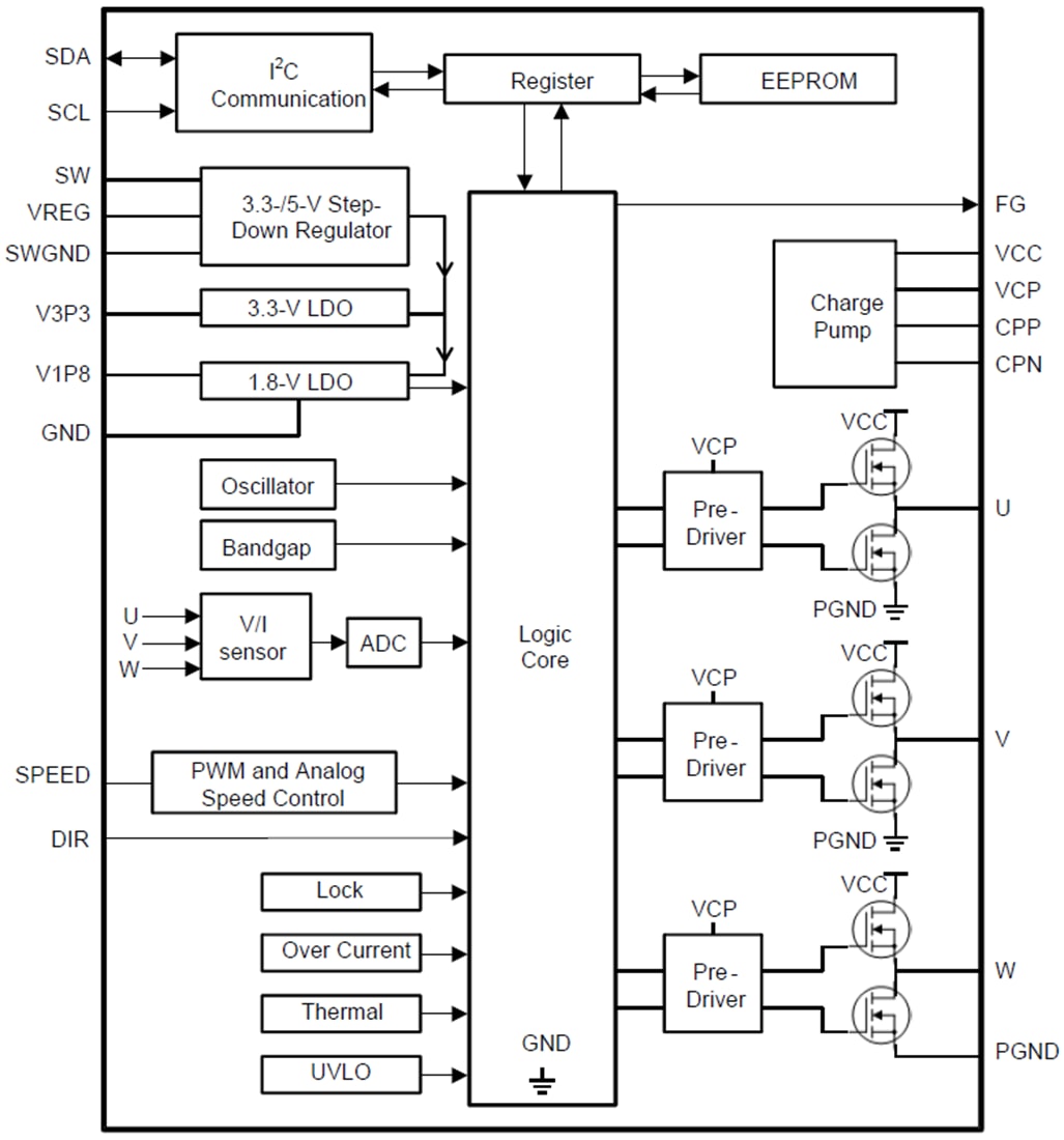
Le pilote moteur BLDC sans capteur triphasé DRV10983 Texas Instruments est un pilote moteur sans capteur triphasé avec MOSFET de puissance intégrés, qui peut piloter un courant pilote continu jusqu'à 2 A. Ce composant est spécialement conçu pour les applications sensibles au coût, à faible bruit et nombre limité de composants externes. Le DRV10983 utilise une méthode de contrôle propriétaire sans capteur pour fournir un pilote sinusoïdal continu, qui réduit significativement le phénomène acoustique à tonalité pure qui survient classiquement suite à la commutation. L'interface du composant est conçue pour être simple et flexible. Le moteur peut être contrôlé directement par entrées PWM, analogiques ou I2C. La rétroaction sur la vitesse du moteur est disponible à travers la broche FG ou I2C.Caractéristiques
- Input Voltage Range: 8 to 30V
- Total Driver H + L RDSon: 250mΩ
- Drive Current: 2A Continuous (3A Peak)
- Sensorless Proprietary Back Electromotive Force (BEMF) Control Scheme
- Continuous Sinusoidal 180° Commutation
- No External Sense Resistor Required
- For Flexibility User may Include External Sense Resistor to Monitor Power Delivered to the Motor
- Flexible User Interface Options
- I2C Interface: Access Registers for Command and Feedback
- Dedicated SPEED Pin: Accepts Either Analog or PWM Input
- Dedicated FG Pin: Provides TACH Feedback
- Spin Up Profile can be Customized With EEPROM
- Forward/Reverse Control With DIR Pin
- Integrated Buck/Linear Converter to Efficiently Provide Voltage (5V/3.3V) for Internal and External Circuits
- Supply Current 3.5mA With Standby Version (DRV10983)
- Overcurrent Protection
- Lock Detection
- Voltage Surge Protection
- UVLO Protection
- Thermal Shutdown Protection
- Thermally Enhanced 24-Pin HTSSOP
Applications
- Appliance Fan
- HVAC
Datasheets
Functional Block Diagram
TI Reference Designs Library
Publié le: 2014-08-19
| Mis à jour le: 2022-03-11
