Texas Instruments PHY Ethernet DP83848x 10/100Mb/s
Le PHY Ethernet DP83848x 10/100Mb/s de Texas Instruments a été conçu pour les applications nécessitant une connectivité Ethernet avec des performances de température étendues au-delà de la plage de température industrielle standard. Le DP83848x de Texas Instruments est un dispositif hautement fiable et robuste, doté de nombreuses fonctionnalités, qui répond aux normes IEEE 802.3 sur plusieurs plages de température (températures extrêmes à commerciales). Ce dispositif est idéalement adapté aux environnements difficiles tels que l'automobile/les transports, les stations de base sans fil et les applications de contrôle industriel.Il offre le choix d'une interface RMII ou MII pour une flexibilité maximale dans la sélection du microprocesseur et une protection DES améliorée, le tout dans un boîtier à 48 broches.
Caractéristiques
- Plusieurs plages de température de -40 °C à 105 °C
- Technologie CMOS 0,18 µm à faible puissance de 3,3 V
- Faible consommation d'énergie de < 270 mw="">
- Interface MAC 3,3 V
- Auto-MDIX pour 10/100 Mbit/s
- Mode de détection d'énergie
- Sortie horloge de 25 MHz
- Interface SNI (configurable)
- Interface RMII rév. 1.2 (configurable)
- Interface de gestion série MII (MDC et MDIO)
- IEEE 802.3 MII
- Auto-négociation IEEE 802.3 et détection parallèle
- Émetteurs-récepteurs et filtres ENDEC, 10BASE-T IEEE 802.3
- Émetteurs-récepteurs et filtres PCS, 100BASE-TX IEEE 802.3
- IEEE 1149.1 JTAG
- TP-PMD intégré conforme à la norme ANSI X3.263
- Sous-couche physique avec égalisation adaptative et compensation du dérapage de la ligne de base
- Fonctionnement sans erreur jusqu'à 150 mètres
- Prise en charge de LED programmable pour la liaison, le mode 10/100 Mbit/s, l'activité, le duplex et la détection de collision
- Accès à un seul registre pour l'état complet du PHY
- BIST (test intégré) de paquets à 10/100 Mbit/s
Applications
- Automobile/transport
- Commandes industrielles et automatisation d'usine
- Applications intégrées générales
Vidéos
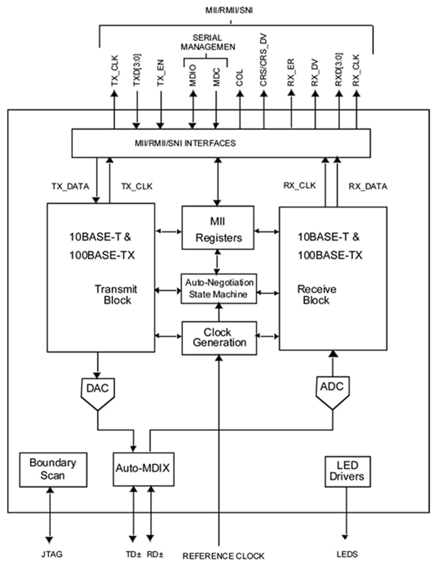
Schéma fonctionnel
Publié le: 2024-10-29
| Mis à jour le: 2024-12-13
