Texas Instruments CAN Delta-Sigma isolé 16 bits AMC130M03
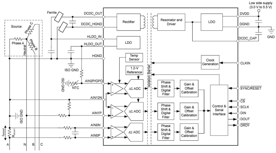
Le convertisseur analogique-numérique (CAN) Delta-Sigma isolé 16 bits AMC130M03 de Texas Instruments est un CAN delta-sigma (ΔΣ) de précision, 16 bits, trois canaux, à échantillonnage simultané, isolé des données et de la puissance. L'AMC130M03 offre une large plage dynamique de caractéristiques spécifiques à la mesure de l’énergie et à faible puissance pour les applications de métrologie de puissance et de compteurs d’énergie. Les entrées du CAN peuvent être interfacées directement avec un capteur de courant de shunt ou un réseau de diviseur de résistance en raison de la haute impédance d’entrée du composant.L'AMC130M03 de Texas Instruments dispose d’un convertisseur CC-CC isolé entièrement intégré qui permet un fonctionnement à partir d'une source d'alimentation unique depuis le côté bas du composant. La barrière d’isolation capacitive renforcée est certifiée conformément aux normes UL1577 et VDE 0884-17. Cette barrière d’isolation sépare les pièces du système pour protéger les pièces basse tension des dommages. Elle fonctionne à différents niveaux de tension en mode commun, faisant de l'AMC130M03 un excellent choix pour les applications de compteurs d’énergie polyphasés utilisant des capteurs de courant de shunt.
Caractéristiques
- Trois CAN ΔΣ à échantillonnage simultané isolés avec entrées différentielles
- Fonctionnement à partir d'une source d'alimentation unique (3,3 V ou 5 V) avec convertisseur CC-CC intégré
- Faibles EMI conformes aux normes CISPR-11 et CISPR-25
- Débit de données programmable jusqu’à 64 kS/s
- Gain programmable jusqu'à 128
- Tension de référence interne à faible dérive
- Interface SPI 4 fils avec contrôle de redondance cyclique (CRC)
- Certifications liées à la sécurité
- Isolation renforcée au 7070 VPEAK selon la norme DIN EN IEC 60747-17 (VDE 0884-17)
- Isolation au 5000 VRMS pendant 1 minute selon la norme UL1577
- Boîtier SOIC à corps large, 20 broches
- Plage de température de fonctionnement de -40°C à +125°C
Applications
- Compteurs électriques (commerciaux et résidentiels)
- Disjoncteurs
- Stations de chargement EV
- Systèmes de gestion de batterie
Schéma de principe fonctionnel
Publié le: 2023-12-15
| Mis à jour le: 2024-01-03
