Texas Instruments Modulateurs delta-sigma isolés AMC0x06M05/-Q1
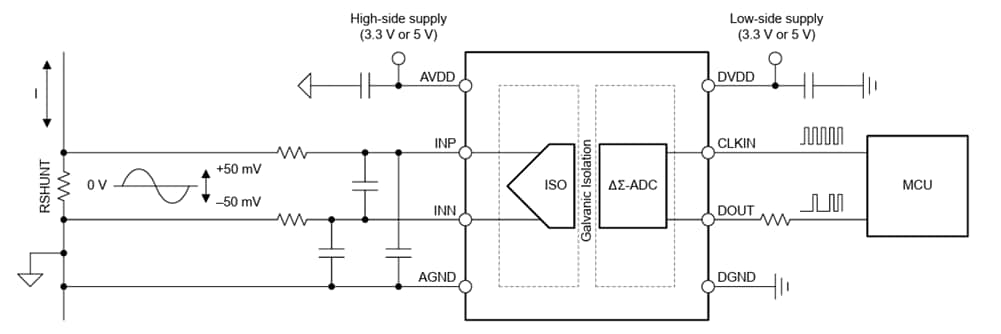
Les Modulateurs delta-sigma isolés AMC0x06M05/-Q1 de Texas Instruments sont des dispositifs de précision à isolement galvanique et à entrée différentielle de ±50 mV et une sortie numérique. L'entrée de modulateur est optimisée pour la connexion à des résistances shunt de faible impédance, couramment utilisées dans des applications de détection de courant. La barrière d'isolement sépare les parties du système fonctionnant à différents niveaux de tension de mode commun. La barrière d'isolement est très résistante aux interférences magnétiques. La barrière est certifiée pour fournir un isolement renforcé jusqu'à 5 kV RMS (boîtier DWV) et un isolement de base jusqu'à 3 kV RMS(boîtier D) (60 s). Le flux binaire de sortie AMC0x06M05/-Q1 est synchronisé sur une horloge externe.Les Modulateurs delta-sigma isolés AMC0x06M05/-Q1 de TI combinent un filtre sinc3 et OSR 256 permettant 16 bits effectifs de résolution ou 84 dB de gamme dynamique à une fréquence d'échantillonnage de 78 kSPS. L’AMC0x06M05-Q1 existe dans des boîtiers SOIC à 8 broches et à corps larges ou étroits. Ces dispositifs sont entièrement spécifiés sur la plage de température de -40 à +125 °C.
Les dispositifs AMC0x06M05-Q1 sont qualifiés AEC-Q100 pour les applications automobiles.
Caractéristiques
- HomologuéS AEC-Q100 pour les applications automobiles :
- Température de classe 1 : de -40 à +125 °C, TA
- Plage linéaire de tension d'entrée de ±50 mV
- Plage de tension d'alimentation :
- Côté haut (AVDD) : de 3,0 à 5,5 V
- Côté bas (DVDD) : de 2,7 à 5,5 V
- Erreurs CC faibles :
- Erreur de décalage : ±200 µV (maximum)
- Dérive de décalage : ±12 µV/°C (maximum)
- Erreur de gain : ±0,3 % (maximum)
- Dérive de gain : ±50 ppm/°C (maximum)
- CMTI élevée : 150 V/ns (minimum)
- Détection de l'absence d'alimentation côté haut
- Faible EMI : conforme aux normes CISPR-11 et CISPR-25
- Classes d'isolement :
- AMC0206M05-Q1 : isolement de base
- AMC0306M05-Q1 : Isolation renforcée
- Certifications liées à la sécurité :
- DIN EN CEI 60747-17 (VDE 0884-17)
- UL1577
Applications
- Entraînements à moteur
- Onduleurs photovoltaïques
- Unités d'alimentation électrique (PSU) de serveur
- Systèmes de stockage d'énergie
Fiches techniques
Application standard
Publié le: 2026-02-05
| Mis à jour le: 2026-02-13
