Texas Instruments Frontaux analogiques intelligents AFEx39xx/AFEx39xx-Q1
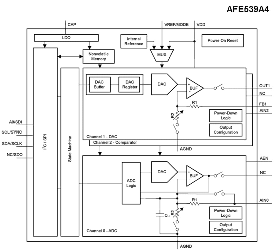
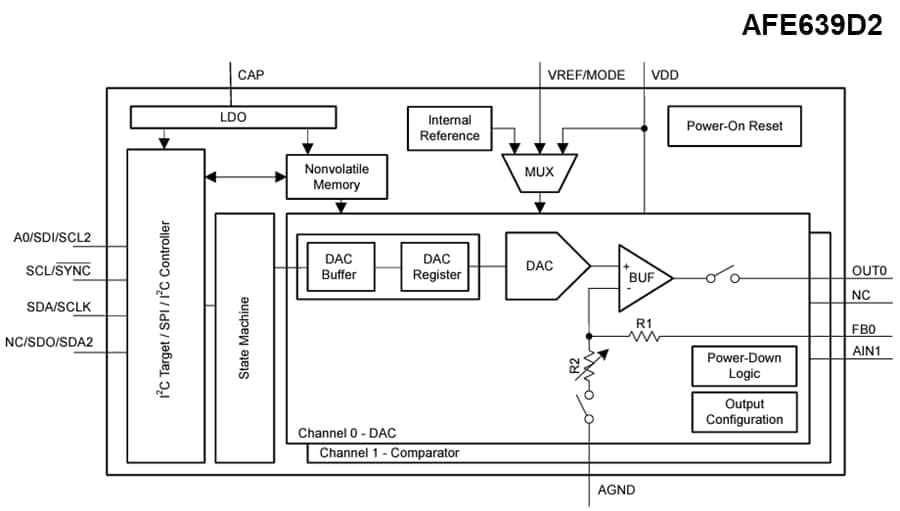
Les modules frontaux analogiques intelligents AFEx39xx/AFEx39xx-Q1 de Texas Instruments sont conçus pour le contrôle du refroidissement thermoélectrique (TEC) à l'aide d'une sortie de tension ou MLI. Le AFE639D2 prend en charge un contrôleur I2C pour s'interfacer avec des capteurs de température numériques externes. Les AFE639D2 et AFE539A4 prennent en charge la sortie de tension et AFE439A2 prend en charge la sortie PWM. Les AFEx39xx/AFEx39xx-Q1 prennent en charge un canal de comparateur pour la gestion des défauts. Ces dispositifs prennent également en charge le mode de mise hors tension Hi-Z et la sortie Hi-Z sur le canal CNA pendant la mise hors tension. Ces composants disposent d'une machine à état intégrée préprogrammée en tant que contrôleur proportionnel intégral (PI). Les AFEx39xx/AFEx39xx-Q1 sont un excellent choix pour les applications de contrôle TEC, de contrôle de température et de contrôle dynamique de la marge. Les AFEx39xx/AFEx39xx-Q1 de Texas Instruments intègrent des caractéristiques avancées, une référence interne et MVN, permettant cette AFE intelligente pour les applications sans processeur et la réutilisation de conception.Caractéristiques
- Contrôle proportionnel-intégral (PI) intégré
- Fonctionnement autonome à partir de la mémoire non volatile (MNV)
- Gain proportionnel et intégral programmable
- Entrée du comparateur pour le blocage de sortie
- Valeurs min, max et mode commun programmables pour la sortie
- Inversion de phase de boucle programmable
- AFE639D2
- Contrôleur I2C pour interface de capteur de température numérique externe
- Sortie DAC 12 bits : 4 LSB DNL, 1 LSB DNL
- AFE539A4
- Entrée ADC 10 bits : 2 LSB INL, 1 LSB DNL
- Sortie DAC 10 bits : 1 LSB INL et DNL
- AFE439A2
- Entrée ADC 8 bits : 1 LSB INL et DNL
- Sortie MLI à cycle de service 7 bits
- Comparateur programmable pour la gestion des défauts
- Sortie haute impédance sur le canal CNA lorsque VDD est désactivé
- Détecte automatiquement I2C ou SPI
- VIH de 1,62 V avec VDD = 5,5 V
- La broche VREF/MODE sélectionne entre les modes de programmation et autonome
- MVN programmable par l'utilisateur
- Alimentation interne, externe ou comme référence
- Large plage de fonctionnement
- Alimentation de 1,8 V à 5,5 V
- Plage de température de –40 ˚C à +125 ˚C
- Boîtier minuscule WQFN 16 broches (3 mm × 3 mm)
Applications
- Laser
- Analyseur de chimie et de gaz
- LIDAR à balayage mécanique
- Module de détection de robot
- Module de détection de robot mobile
- Frontal du demandeur
Fiches techniques
Publié le: 2023-10-16
| Mis à jour le: 2024-01-12
