Texas Instruments Frontaux analogiques (AFE) intelligents AFEx3902-Q1
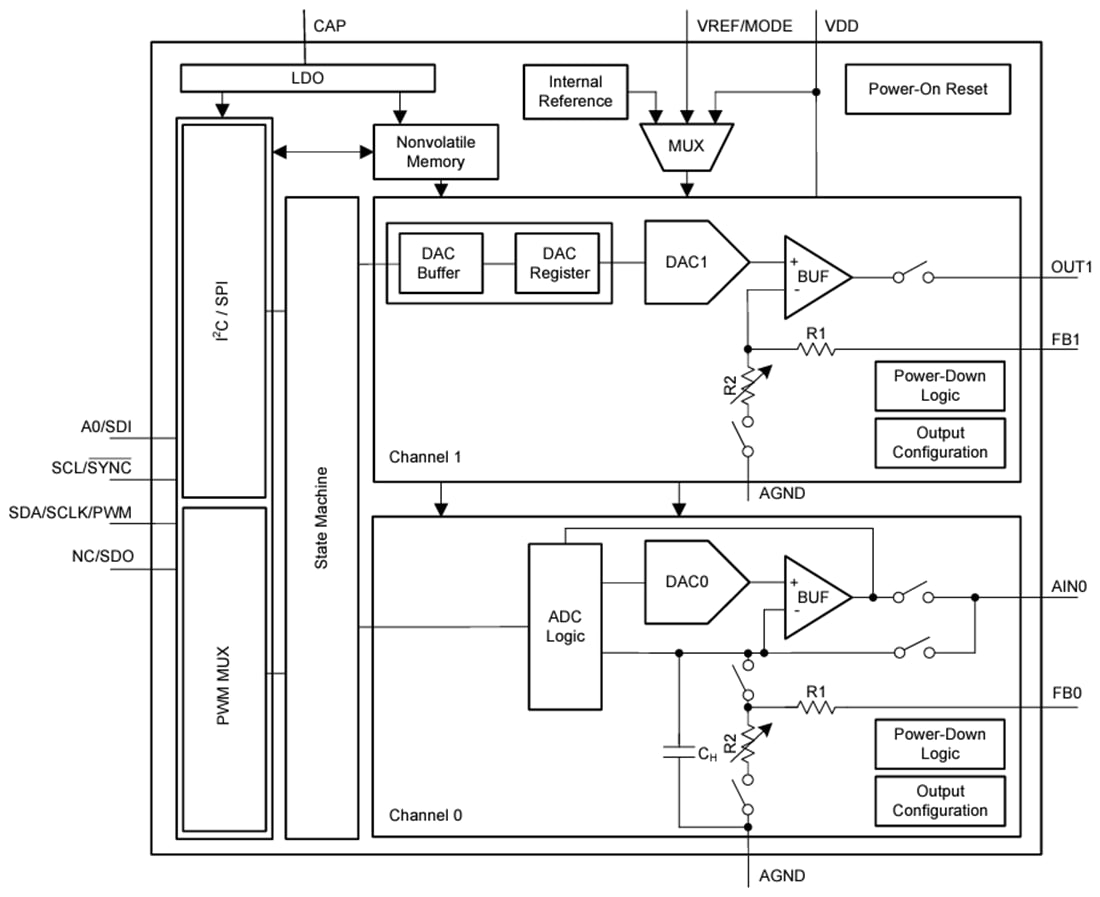
Les modules frontaux analogiques (AFE) intelligents AFEx3902-Q1 de Texas Instruments sont des modules frontaux analogiques (AFE) intelligents à double canal destinés au repli thermique multi-pentes de l'éclairage LED. La sortie des voyants LED diminue avec une augmentation de la température. Le repli thermique multi-pentes aide à maintenir une sortie lumineuse constante des LED, indépendamment du changement de température, tout en limitant la température de la LED aux seuils programmés.L'AFEx3902-Q1 dispose d'un CAN pour l'entrée de température et d'un générateur CNA ou MLI comme sortie. Ces composants disposent d'une machine à état intégrée préprogrammée comme contrôleur de repli thermique multi-pentes. L'AFEx3902-Q1 est un excellent choix pour le repli thermique des feux arrière, des phares automobiles et de l'éclairage horticole. Le AFEx3902-Q1 de Texas Instruments fonctionne indépendamment des paramètres programmés dans le MNV et permet ainsi à ces AFE intelligents de réaliser des applications sans processeur et de réutiliser des conceptions. Ces dispositifs détectent également automatiquement I2C ou SPI et disposent d'une référence interne.
Caractéristiques
- Homologué AEC-Q100 pour les applications automobiles
- Classe de température 1 (–40 °C à +125 °C, TA)
- Repli thermique multi-pentes
- Entrée de convertisseur analogique-numérique (CAN) 10 bits
- Sortie de convertisseur numérique-analogique (CNA)
- 10 bits (AFE53902-Q1)
- 8 bits (AFE43902-Q1)
- Sortie à modulation de largeur d'impulsion (MLI) avec un rapport cyclique de 7 bits
- Fonctionnement autonome à partir de la mémoire non volatile (MNV)
- Configuration des paramètres basée sur une table de recherche (LUT)
- Linéariseur par morceaux pour thermistance
- Détecte automatiquement I2C ou SPI
- 1,62 V VIH avec VDD = 5,5 V
- La broche VREF/MODE sélectionne entre les modes de programmation et autonome
- MNV programmable par l'utilisateur
- Référence interne, externe ou VDD
- Large plage de fonctionnement
- Alimentation de 1,8 V à 5,5 V
- Boîtier minuscule WQFN 16 broches (3 mm × 3 mm)
Applications
- Feu arrière automobile
- Feu avant automobile
Schéma fonctionnel
Publié le: 2023-10-16
| Mis à jour le: 2025-03-11
