Texas Instruments Frontal analogique intelligent à source de courant AFEx32A3W
Le frontal analogique intelligent (AFE) à source de courant AFEx32A3W est un AFE intelligent de Texas Instruments à trois canaux, à sortie de tension, à sortie de courant et à entrée CAN tamponnées. Les dispositifs AFEx32A3W prennent en charge une source de courant qui peut être utilisée pour la commande linéaire de diodes laser et de moteurs miniatures. Ces dispositifs prennent en charge le mode de mise hors tension Hi-Z et la sortie Hi-Z pendant les conditions de mise hors tension pour la sortie de tension. Le canal 1 peut être configuré comme un CAN, un CAN à sortie de tension ou un comparateur. Les CNA à sortie de tension fournissent une option de détection de force à utiliser comme comparateur programmable et dissipateur de courant. Le GPIO multifonctions, la génération de fonctions et la mémoire non volatile programmable (NVM) rendent ces AFE intelligents adaptés aux applications sans processeur et à la réutilisation de conception. Ces dispositifs détectent automatiquement les interfaces SPI ou I2C et contiennent une référence interne.L'ensemble des caractéristiques du AFEx32A3W de Texas Instruments, associé à un boîtier minuscule et à une faible puissance, fait de ces AFE intelligents un excellent choix pour des applications telles que le contrôle de la puissance des diodes laser et le contrôle des lasers à modulation par électro-absorption (EML) dans les réseaux optiques passifs (PON) et d'autres applications laser industrielles.
Caractéristiques
- CNA à source de courant
- DNL 1 LSB
- Deux plages (300 mA et 220 mA)
- 770 mV de marge
- CNA à double sortie de tension
- DNL 1 LSB
- Gains de 1×, 1,5×, 2×, 3× et 4×
- Entrée CAN sur le canal 1
- Mode comparateur programmable sur le canal 1
- Sortie à haute impédance quand VDD est éteint
- Modes de mise hors tension à haute impédance et résistance
- Interface compatible SPI de 50 MHz
- Détecte automatiquement I2C ou SPI à 1,62 V VIH avec VDD = 5,5 V
- Entrée/sortie à usage général (GPIO) configurable comme fonctions multiples
- Génération de forme d'onde prédéfinie : sinusoïdale, cosinusoïdale, triangulaire, en dents de scie
- Mémoire non volatile (NVM) programmable par l'utilisateur
- Interne ou alimentation comme référence
- Large plage de fonctionnement
- Alimentation électrique de 3 V à 5,5 V
- Température de –40 °C à +125 °C
Applications
- Module optique
- Laser
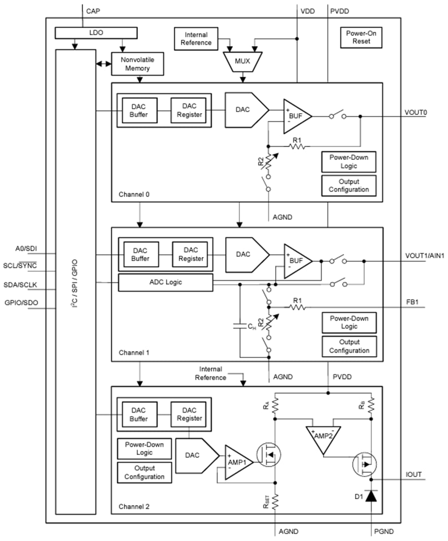
Schéma fonctionnel
Publié le: 2024-03-13
| Mis à jour le: 2024-03-21
