Texas Instruments AFE intégré ultra-compact AFE4462
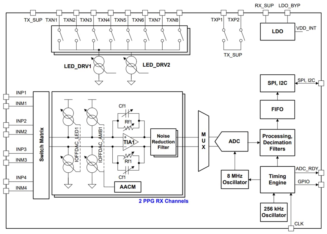
Le frontal analogique intégré ultra-compact AFE4462 de Texas Instruments est un frontal analogique (AFE) pour les applications de biosurveillance optique, telles que la saturation de l'oxygène capillaire périphérique (SpO2) et la surveillance de la fréquence cardiaque (HRM). Le dispositif prend en charge jusqu'à quatre photodiodes (PD) et jusqu'à 16 diodes électroluminescentes (LED) de commutation. L'AFE dispose de deux pilotes LED, chacun avec un contrôle de courant à 8 bits. L'AFE4462 de Texas Instruments dispose d'une circuiterie d'émission et de réception à portée dynamique élevée qui aide à détecter des niveaux de signal très faibles. Il est possible de définir jusqu'à 16 ensembles de phases de signal, chaque ensemble de phase comprenant une combinaison de phases ambiantes et de LED. Les DAC à faible décalage de bruit aux entrées du récepteur peuvent être contrôlés automatiquement pour annuler le CC de la LED et la lumière ambiante. Le courant de chacun des quatre PD de chaque phase est converti en tension par les TIA, filtré, puis numérisé à l'aide d'un CAN commun. Le code CAN peut être stocké dans un bloc PEPS 256 échantillons. Le PEPS peut être lu à l'aide d'une interface SPI ou I2C.Caractéristiques
- Prend en charge l'acquisition de signaux jusqu'à un maximum de 16 ensembles de phases
- Prend en charge jusqu'à 16 LED, 4 PD
- Allocation flexible des LED et des PD dans chaque phase
- Acquisition de signal simultanée de différents capteurs à différents débits de données
- Surveillance PPG précise et continue
- Courant faible pour une surveillance constante du rythme cardiaque sur un dispositif portable avec une valeur standard de 15 µA pour une LED et 15 µA pour le récepteur
- SNR système de pointe de 115 dB
- Récepteur
- Prend en charge quatre entrées PD multiplexées dans le temps
- Deux récepteurs parallèles (quatre ensembles de TIA/filtre)
- CNA de soustraction d'un décalage ambiant individuel à chaque entrée TIA avec un contrôle de 8 bits par phase et une plage réglable jusqu'à 255 µA
- Convertisseur numérique-analogique (CNA) de soustraction à décalage de LED individuelle à chaque entrée TIA avec un contrôle de 9 bits par phase et une plage de 64 µA
- Soustraction ambiante numérique à la sortie du CAN
- Filtrage du bruit avec bande passante programmable
- Gain de transimpédance : de 3,7 kΩ à 1 MΩ
- Émetteur
- Courant LED programmable de 8 bits avec une plage réglable de 25 mA à 250 mA
- Mode d'incendie de deux LED en parallèle avec un contrôle de courant indépendant par phase
- LED programmable à temps par phase
- Prise en charge simultanée de 16 LED pour SpO2, HRM à longueurs d'onde multiples et la spectroscopie
- Prend en charge une horloge externe ou un oscillateur interne
- Possibilité d'acquérir des données synchronisées avec une horloge système
- Annulation automatique de CC de la température ambiante, LED
- PEPS avec profondeur 256 échantillons
- Interface SPI™/interface I2C
- DSBGA de 2,6 mm × 2,6 mm, pas de 0,4 mm
- Fournitures
- Rx : 1,7 V à 1,9 V (dérivation LDO) ; 1,9 V à 3,6 V (LDO activée)
- Tx : 3 V à 5,5 V, ES : 1.7RX_SUP
Applications
- Surveillance optique de la fréquence cardiaque (HRM) pour appareils portables et audibles
- Variabilité de la fréquence cardiaque (HRV)
- Mesures d'oxymétrie à impulsion (SpO2)
- Spectroscopie optique
Schéma fonctionnel
Publié le: 2025-02-25
| Mis à jour le: 2025-03-11
