Texas Instruments Frontal analogique (AFE) intégré AFE4432
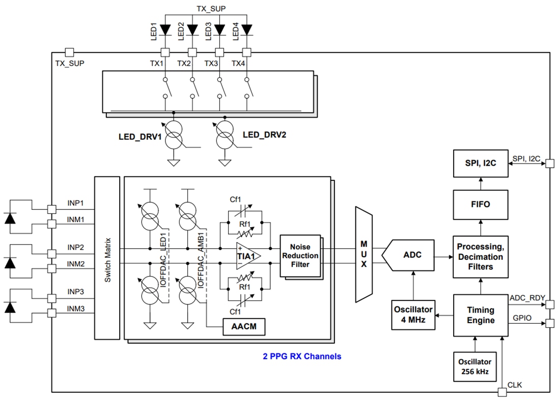
Le frontal analogique (AFE) intégré AFE4432 de Texas Instruments est destiné aux applications de biodétection optique, telles que la surveillance de la fréquence cardiaque (HRM) et la saturation de l'oxygène capillaire périphérique (SpO2). Le composant prend en charge jusqu'à 4 diodes électroluminescentes (LED) de commutation et jusqu'à trois photodiodes (PD). L'AFE dispose de deux pilotes LED, chacun avec un contrôle du courant sur 8 bits. L'AFE4432 de Texas Instruments dispose d'un circuit de transmission et de réception à haute plage dynamique qui aide à détecter des niveaux de signal très faibles. Jusqu'à 12 jeux de phase de signal peuvent être définis, chaque jeu de phase comprenant une combinaison de phases LED et ambiantes. Les CNA à faible décalage de bruit aux entrées du récepteur peuvent être contrôlés automatiquement pour annuler le CC de la lumière ambiante et de la LED. Le courant des PD de chaque phase est converti en tension par des TIA, filtré, puis numérisé à l'aide d'un CAN standard. Le code du CAN peut être stocké dans un bloc PEPS de 160 échantillons. Le PEPS peut être lu à l'aide d'une interface SPI ou I2C.Caractéristiques
- Prend en charge l'acquisition de signaux de jusqu'à 12 jeux de phases
- Prend en charge jusqu'à 4 LED, 3 PD
- Allocation flexible des LED et des PD dans chaque phase
- Acquisition de signal simultanée de différents capteurs à différents débits de données
- Surveillance PPG précise et continue
- Courant faible pour la surveillance continue de la fréquence cardiaque sur un dispositif portatif avec une valeur standard (12 µA pour le récepteur)
- SNR de système de crête de 115 dB dans la bande 0,5-10 Hz permettant une mesure SpO2 de haute précision
- Émetteur
- Courant LED programmable 8 bits avec plage réglable de 25 mA à 250 mA
- Mode d'incendie de deux LED en parallèle avec un contrôle de courant indépendant par phase
- LED programmable à temps par phase
- Prise en charge simultanée de 4 LED pour SpO2, HRM à longueurs d'onde multiples
- Récepteur
- Prend en charge 3 entrées PD multiplexées dans le temps
- Deux récepteurs parallèles (deux jeux de TIA/filtre)
- CNA de sous-traction à décalage ambiant individuel à chaque entrée TIA avec un contrôle 8 bits par phase et une plage réglable jusqu'à 255 µA
- Convertisseur numérique-analogique (CNA) de soustraction à décalage de LED individuelle à chaque entrée TIA avec un contrôle de 9 bits par phase et une plage de 64 µA
- Soustraction ambiante numérique à la sortie du CAN
- Filtrage du bruit avec bande passante programmable
- Gain de transimpédance : 3,7 kΩ à 1 MΩ
- Prend en charge une horloge externe ou un oscillateur interne
- Possibilité d'acquérir des données synchronisées avec une horloge système
- Annulation automatique de CC de la température ambiante, LED
- PEPS avec profondeur de 160 échantillons
- Interface SPI™/interface I2C
- DSBGA 1,9 mm × 1,8 mm, pas de 0,35 mm
- Fournitures
- Rx : 1,7 V à 1,9 V
- Tx : 3 V à 5,5 V
Applications
- Surveillance optique de la fréquence cardiaque (HRM) pour les appareils portables et audibles
- Variabilité de la fréquence cardiaque (HRV)
- Mesures (SpO2) d'oxymétrie d'impulsion
Schéma fonctionnel
Publié le: 2022-10-04
| Mis à jour le: 2022-11-02
