Texas Instruments CAN Delta-Sigma 32 kS/s à 4 canaux ADS130B04-Q1
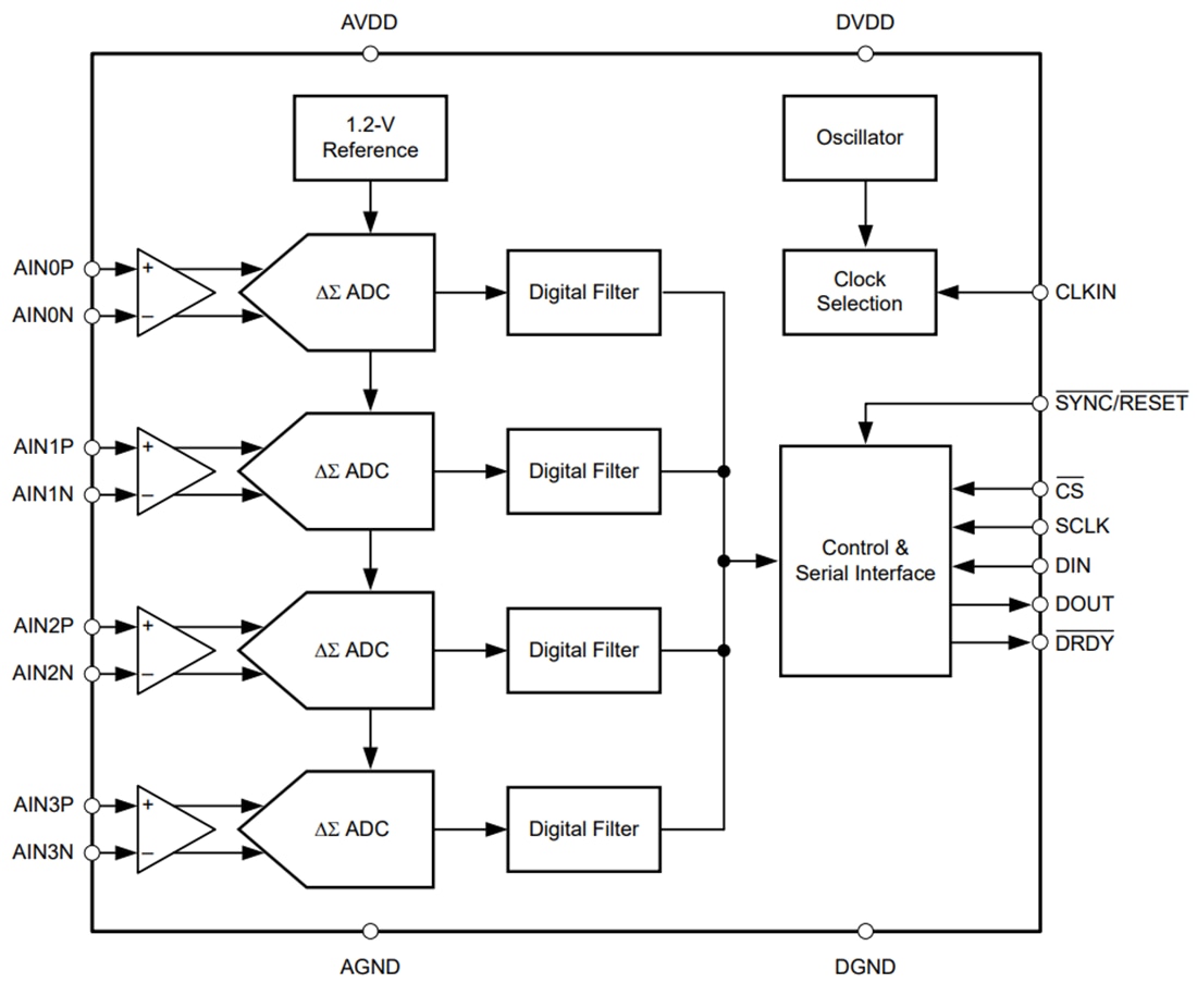
Le convertisseur analogique-numérique (CAN) Delta-Sigma 32 kS/s (ΔΣ) à 4 canaux ADS130B04-Q1 de Texas Instruments offre des entrées analogiques tamponnées à large portée dynamique et faible puissance. Ces caractéristiques font du dispositif un excellent choix pour les systèmes de gestion de batterie automobile (BMS). Les entrées du CAN peuvent être interfacées directement avec les résistances de shunt pour les mesures de courant de batterie bidirectionnelles, les réseaux de diviseur de résistance pour les mesures à haute tension ou les capteurs de température (tels que les thermistances ou les capteurs analogiques de température de sortie).Les canaux CAN individuels de l'ADS130B04-Q1 de Texas Instruments peuvent être configurés indépendamment en fonction de l'entrée du capteur. Un amplificateur à gain programmable (PGA) à faible bruit fournit des gains allant de 1 à 128 pour amplifier les signaux de bas niveau. Le composant dispose d'un mode d'arrêt global pour éliminer la dérive du décalage en température et en temps. Un oscillateur de précision, une référence 1,2 V et une faible dérive sont intégrés dans le composant, réduisant ainsi la surface de la carte de circuit imprimé (PCB). Les contrôles de redondance cycliques (CRC) optionnels sur l'entrée de données, la sortie de données et la carte de registre maintiennent l'intégrité de la communication.
L'interface frontale analogique (AFE) complète est proposée en boîtier TSSOP à 20 broches et est spécifiée pour la plage de température automobile de -40° C à +125° C.
Caractéristiques
- Homologué AEC-Q100 pour les applications automobiles
- -40°C à +125 °C, TA classe 1 de température
- Compatible avec la sécurité fonctionnelle
- Documentation disponible pour aider à la conception de systèmes de sécurité fonctionnels
- CAN à 2 échantillonnages simultanés et entrée différentielle
- Débit de données programmable : jusqu'à 32 kS/s
- Gain programmable : jusqu'à 128
- Mode d'arrêt global pour éliminer la dérive du décalage sur la température et le temps
- Entrées analogiques à haute impédance pour connexion directe du capteur
- Pompe de charge négative intégrée permettant des mesures du signal d'entrée sous la terre
- –diaphonie de 120 dB entre les canaux
- Référence interne à faible dérive 1,2 V
- Oscillateur interne de précision
- Contrôle de redondance cyclique (CRC) et registre de carte
- Alimentations analogiques et numériques de 2,7 V à 3,6 V
- Faible consommation d'énergie de 3 mW à 3,3 V AVDD et DVDD
Applications
- Systèmes de gestion de batterie automobile (BMS)
- Mesures de shunt de courant
- Mesures de tension à l'aide de Diviseurs de résistances externes
- Mesures de température à l'aide de thermistances ou de capteurs de température de sortie analogiques
- Stations de chargement EV
- Mesures électroniques CC
- Systèmes de stockage d'énergie (ESS)
Schéma de principe fonctionnel
