Texas Instruments Convertisseur analogique-numérique (CAN) à 14 bits ADC34J4x
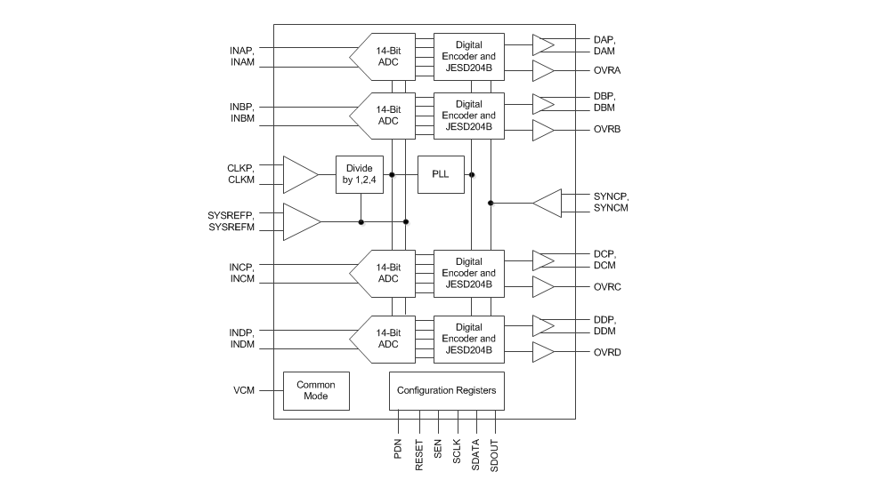
Le convertisseur analogique-numérique (CAN) à 14 bits ADC34J4x Texas Instruments est un convertisseur analogique-numérique (CAN) à haute linéarité, ultra-basse puissance, quatre canaux, 14 bits de 50 à 160 MS/s. Ces composants sont spécialement conçus pour prendre en charge des signaux de haute fréquence d'entrée avec des exigences de large plage dynamique. Un diviseur d'horloge en entrée donne plus de flexibilité à la conception de la structure d'horloge du système tandis que l'entrée SYSREF permet une synchronisation complète du système. La famille ADC34J4x prend en charge les interfaces JESD204B et CML (logique en mode courant) de série afin de réduire le nombre de lignes d'interface, permettant ainsi une haute densité d'intégration du système. L'interface JESD204B est une interface série, où les données de chaque CAN sont mises en série et sorties sur seulement une paire différentielle. Une boucle interne à verrouillage de phase (PLL) multiple l'horloge d'échantillonnage du CAN par 20 pour dériver l'horloge binaire utilisée pour mettre en série les données sur 14 bits provenant de chaque canal. Les composants ADC34J4x prennent en charge une sous-classe 1 avec des débits d'interface jusqu'à 3,2 Gbit/s.The Texas Instruments ADC34J4x family supports serial current-mode logic (CML) and JESD204B interfaces in order to reduce the number of interface lines, thus allowing high system integration density. The JESD204B interface is a serial interface, where the data of each ADC is serialized and output over only one differential pair. An internal phase-locked loop (PLL) multiplies the incoming ADC sampling clock by 20 to derive the bit clock that is used to serialize the 14-bit data from each channel. The ADC34J4x devices support subclass 1 with interface speeds up to 3.2Gbps.
Caractéristiques
- Quad channel
- 14-Bit resolution
- Single 1.8V supply
- Flexible input clock buffer with divide-by-1, -2, -4
- SNR = 72dBFS, SFDR = 86dBc at fIN = 70MHz
- Ultra-low power consumption
- 203mW/Ch at 160MSPS
- 105dB channel isolation
- Internal dither
- JESD204B serial interface
- Supports subclass 0, 1, 2
- Supports one lane per ADC up to 160MSPS
- Support for multi-chip synchronization
- Pin-to-pin compatible with 12-bit version
- VQFN-48 (7mm × 7mm) package
Applications
- Multi-carrier, multi-mode cellular base stations
- Radar and smart antenna arrays
- Munitions guidance
- Motor control feedback
- Network and vector analyzers
- Communications test equipment
- Nondestructive testing
- Microwave receivers
- Software-Defined Radios (SDRs)
- Quadrature and diversity radio receivers
Vidéos
Block Diagram
Publié le: 2014-11-04
| Mis à jour le: 2025-06-23
