STMicroelectronics Microcontrôleurs (MCU) radio sans fil multiprotocole STM32WBA5
Les microcontrôleurs (MCU) radio sans fil multiprotocoles STM32WBA5 de STMicroelectronics sont certifiés pour le protocole BLUETOOTH® basse consommation 5.4 et permettent aux développeurs non experts d'ajouter facilement la communication sans fil aux dispositifs à un coût abordable. Basée sur le cœur Arm® Cortex®-M33 doté de la technologie TrustZone®, la série STM32WBA fournit un niveau élevé de sécurité, protégeant les données et les adresses IP et empêchant les piratages ou le clonage de dispositif. Le microcontrôleur (MCU) sans fil STM32WBA intègre 1 Mo de mémoire flash et 128 Ko de RAM, hébergés dans les boîtiers QFN48 et QFN32. Tirant parti de l'architecture STM32U5, les composants STM32WBA offrent une plateforme à très faible consommation et des périphériques numériques/analogiques hérités, adaptés à de nombreuses applications, des secteurs industriels aux marchés de la maison connectée et grand public.Caractéristiques
- Technologie brevetée de pointe ST
- Radio à ultra faible puissance
- 2,4 GHz
- Émetteur-récepteur RF prenant en charge la spécification BLUETOOTH 5.3
- Protocoles exclusifs
- Sensibilité de réception -96 dBm (BLUETOOTH Low Energy à 1 Mbps)
- Puissance de sortie programmable jusqu’à +10 dBm par incréments de 1 dB
- Symétriseur intégré pour réduire la nomenclature (BOM)
- Prise en charge de 1 Mbit/s
- Adapté aux systèmes exigeant une conformité aux réglementations de radiofréquence ETSI EN 300 328, EN 300 440, FCC CFR47 Partie 15 et ARIB STD-T66.
- Plateforme à ultra-faible puissance
- Alimentation comprise entre 1,71 V et 3,6 V
- Plage de température de -40 °C à +85 °C
- Périphériques autonomes avec DMA, fonctionnels jusqu’à l’arrêt du mode 1
- Mode veille 140 nA (16 broches de réveil)
- Mode veille 200 nA avec RTC
- Mode veille 2,4 µA avec SRAM 64 ko
- Mode d’arrêt 16,3 µA avec SRAM 64 ko
- Mode de fonctionnement 45 µA/MHz à 3,3 V
- Radio : réception 7,4 mA/émission à 0 dBm 10,6 mA
- CPU Arm® Cortex®-M33 32 bits avec TrustBee®, MPU, DSP et UVF
- ART Accelerator™ avec cache d’instructions 8 ko permettant l’exécution « zéro état d'attente » à partir de la mémoire flash (fréquence jusqu’à 100 MHz, 150 DMIPS)
- Gestion de l’alimentation avec un régulateur LDO intégré prenant en charge l’évolution de la tension
- Évaluations
- 1,5 DMIPS/MHz (Drystone 2.1)
- 407 Coremark® (4.07 CoreMark/MHz)
- Sources d'horloge
- Oscillateur à quartz 32 MHz
- Oscillateur à quartz (LSE) 32 kHz
- RC interne à faible puissance 32 kHz (±5 %)
- RC ajusté en usine 16 MHz interne (±1 %)
- PLL pour l’horloge système et le CAN
- Mémoires
- Mémoire flash 1 Mo avec ECC, y compris 256 ko avec 100 cycles
- SRAM 128 ko, y compris 64 ko avec contrôle de parité
- OTP 512 octets (32 rangées)
- Nombreux périphériques analogiques (alimentation indépendante), CAN 12 bits 2,5 Msps avec sur-échantillonnage matériel
- Périphériques de communication
- 3 UART (ISO 7816, IrDA, modem)
- 2 SPI
- 2 I2C Fm+ (1 Mbit/s), SMBus/PmBus®
- Périphériques de système
- Contrôleur de détection tactile, jusqu’à 20 capteurs, prenant en charge les capteurs tactiles, linéaires et rotatifs
- 1 minuteur de commande moteur avancé 16 bits
- 3 minuteurs 16 bits
- 1 minuteur 32 bits
- 2 minuteurs 16 bits basse consommation (disponibles en mode arrêt)
- 2 minuteurs Systick
- 2 watchdog
- Contrôleur DMA à 8 canaux, fonctionnel en mode arrêt
- Sécurité et cryptographie
- Arm® TrustGuard® et E/S, mémoires et périphériques sécurisables
- Schéma de cycle de vie flexible avec débogage RDP et protégé par mot de passe
- Racine de confiance grâce à une entrée de démarrage unique et une zone de protection de masquage sécurisée (HDP)
- SFI (installation sécurisée du micrologiciel) grâce au RSS (root secure services) intégré
- Stockage de données sécurisé avec clé unique du matériel racine (RHUK)
- Prise en charge de la mise à niveau sécurisée du micrologiciel avec TF-M
- 2 coprocesseurs AES, y compris 1 avec résistance DPA
- Accélérateur de clé publique, résistant DPA
- Accélérateur de matériel HASH
- Générateur de nombres réellement aléatoires, conforme NIST SP800-90B
- Identificateur unique 96 bits
- Inviolateurs actifs
- Unité de calcul CRC
- Jusqu’à 35 E/S (pour la plupart tolérant 5 V) avec capacité d’interruption
- Prise en charge du débogage de fil série (SWD) et du développement JTAG
- STM32WBA54/55
- Flexibilité multi-protocoles (certifiée BLE 5.4, y compris audio, Zigbee, OpenThread/Matter, 802.15.4)
- Certification SESIP de niveau 3
Applications
- Outils électriques
- Bien-être
- Remise en forme
- Médical et soins de santé
- Domotique
- Industrie
- Maisons intelligentes
Vidéos
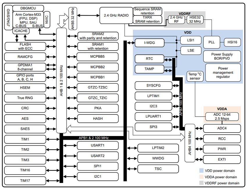
Schéma fonctionnel
Infographie
Flux de contenu
Publié le: 2023-02-23
| Mis à jour le: 2026-02-17
