STMicroelectronics Module inertiel iNEMO LSM9DS1 STMicroelectronics
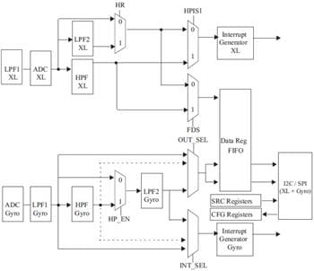
Les modules inertiels iNEMO LSM9DS1 STMicroelectronics constituent un système en boîtier disposant d'un capteur d'accélération linéaire numérique 3D, d'un capteur de débit angulaire numérique 3D et d'un capteur magnétique numérique 3D. Le LSM9DS1 a une échelle complète d'accélération linéaire de ±2 g/±4 g/±8 g, une échelle complète de champ magnétique de ±4/±8/±12/±16 gauss et une vitesse angulaire de ±245/±500/±2 000 degré/s. Le LSM9DS1 inclut une interface de bus série I2C prenant en charge un mode standard et rapide (100 kHz et 400 kHz) et une interface standard SPI série. Une détection gyroscopique, magnétique et un accéléromètre peuvent être activés ou réglés en mode basse consommation séparément pour une gestion intelligente de l'énergie. Le LSM9DS1 est fourni en boîtier plastique LGA (land grid array) et son fonctionnement est garanti sur une plage de température étendue de -40 °C à +85 °C.Caractéristiques
- 3 acceleration channels, 3 angular rate channels, 3 magnetic field channels
- ±2/±4/±8g linear acceleration full scale
- ±4/±8/±12/±16 gauss magnetic full scale
- ±245/±500/±2000dps angular rate full scale
- 16-bit data output
- SPI / I2C serial interfaces
- Programmable interrupt generators
- Analog supply voltage 1.9V to 3.6V
- "Always-on" eco power mode down to 1.9mA
- Embedded temperature sensor
- Embedded FIFO
- Position and motion detection functions
- Click/double-click recognition
- Intelligent power saving for handheld devices
Applications
- Indoor navigation
- Smart user interfaces
- Advanced gesture recognition
- Gaming and virtual reality input devices
- Display/map orientation and browsing
The STMicroelectronics LSM9DS1 iNEMO Inertial Module is available in a plastic land grid array package (LGA) and it is guaranteed to operate over an extended temperature range from -40°C to +85°C.
Publié le: 2014-09-12
| Mis à jour le: 2022-03-11
