STMicroelectronics Pilote LED à 32 canaux avec éclairage CAN FD L99LDLH32
Le pilote LED à 32 canaux L99LDLH32 de STMicroelectronics est un régulateur de courant linéaire monolithique optimisé pour les applications d’éclairage arrière OLED extérieures dans les applications automobiles. La configuration high-side des canaux de sortie du pilote L99LDLH32 permet au composant de piloter des panneaux OLED avec une cathode commune. Le L99LDLH32 est capable de piloter des sorties jusqu’à 35 V, ce qui répond aux exigences en matière de tension directe d'un grand nombre de systèmes OLED. Le dispositif comprend aussi de 32 sources de courant régulé capables de fournir des courants programmables individuellement de 1 mA à 15 mA pour piloter chaque pixel du panneau OLED indépendamment.Le pilote L99LDLH32 intègre une interface de communication robuste et purement automobile compatible avec la lumière FD CAN, qui permet un haut débit de transmission de données (jusqu'à 1 Mbit/s) et utilise une structure CAN FD pour de longs cadres. Outre la couche physique compatible avec la lumière CAN FD, le dispositif intègre également le gestionnaire de protocole, de sorte qu'aucun dispositif externe supplémentaire ne soit nécessaire pour faciliter la communication avec Commander ECU. Le L99LDLH32 peut fonctionner en mode bus à l'aide d'une interface compatible avec la lumière CAN FD ou en mode autonome/sécurisé à l'aide de quelques registres de mémoire internes programmables par temps (FTP).
Le pilote LED à 32 canaux L99LDLH32 de STMicroelectronics est proposé en boîtier QFN48L avec une pastille exposée pour des performances thermiques améliorées. Ce dispositif est qualifié AEC-Q100 pour utilisation dans les applications automobiles.
Caractéristiques
- Homologué AEC-Q100
- Interface série compatible avec la lumière CAN FD, gestionnaire de protocole, proposition de spécifications de projet (DSP) disponible auprès de CAN dans l´automatisation (CiA)
- Oscillateur de haute précision intégré, sans quartz externe requis
- Watchdog de temporisation avec Limp Home
- Faible courant de veille
- Exploitation autonome, sécurisée en cas de défaillance et en mode Bus
- Pilote direct (1 entrée directe) pour 1 groupe de fonctions prenant en charge les exigences ASIL
- Configurabilité la plus large par des mémoires non volatiles et volatiles intégrées
- Plage de tension d'alimentation de fonctionnement de 5,5 V à 40,0 V
- 32 canaux de sortie à courant continu, configuration côté haut
- Courant de sortie de 1 mA à 15 mA, sorties mises en parallèle
- Tension de sortie jusqu'à 35 V
- Réglage du courant par canal par CNA 8 bits
- Tension de rétroaction vers pré-régulateur externe pour optimiser la tension de régulation minimisant la dissipation d´énergie globale
- Gradation analogique, réglage de luminosité exponentiel individuelle par canal PWM 8 bits et gradation PWM globale 8 bits
- Fréquence MLI programmable
- Temps d'allumage/arrêt lent, délai de sortie progressif et horloge réduite pour de meilleures performances CEM
- CAN 8 bits intégré pour un diagnostic complet et flexible
- Ligne dédiée pour bus de défaut
- Avertissement de température (1 seuil)
- Arrêt en cas de surchauffe
- Détection et protection contre les courts-circuits et les charges ouvertes
- Déclassement automatique du courant LED via une mesure NTC externe et la température de jonction du dispositif (TJ)
- Plage de température de fonctionnement de -40 °C à +150 °C
- Boîtier QFN8 de 7,0 mm x 7,0 mm avec pastille exposée
Applications
- Éclairage arrière OLED automobile
- Éclairage automobile ambiant
Vidéos
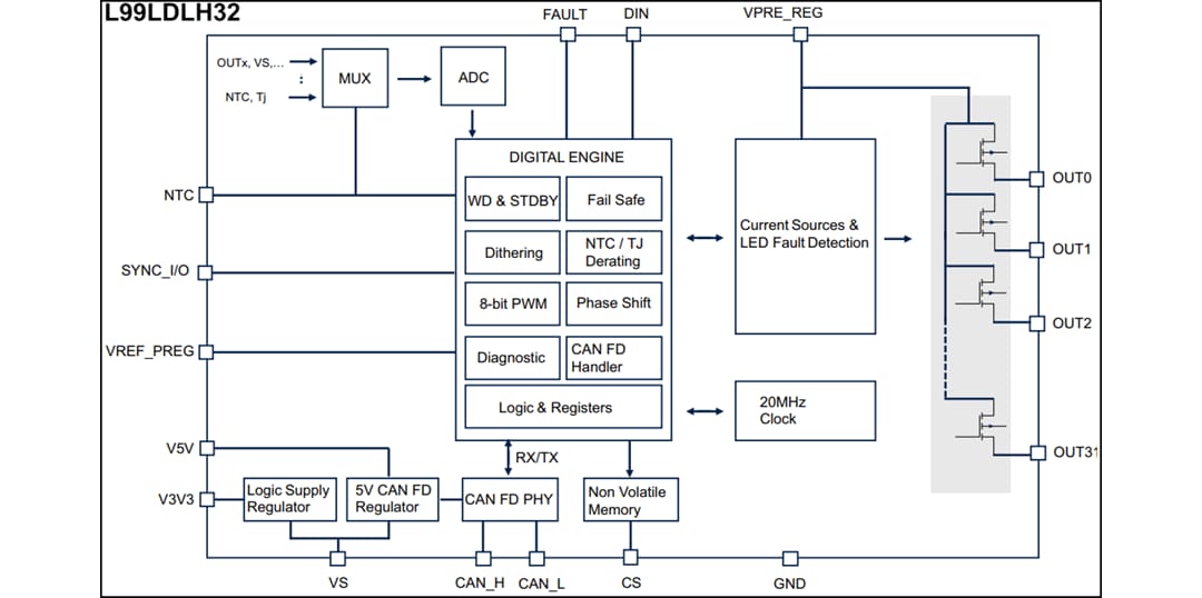
Schéma fonctionnel
Circuit d'application standard
