STMicroelectronics Pilotes 8 canaux à isolement galvanique ISO808
Les pilotes à 8 canaux à isolation galvanique ISO808 de STMicroelectronics sont destinés à piloter n’importe quelle charge avec un côté connecté à la terre. Chaque pilote contient deux domaines de tension indépendants isolés galvaniquement (VCC et VDD pour les étapes logiques de processus et de contrôle). Ces pilotes offrent un courant d’alimentation faible, une tension d’alimentation d’étape de processus de 45 V maximum, une résistance d’état de 0,125 Ω par canal (standard) RDS(ON), une fonction de réinitialisation pour les sorties CI désactivées, un mode commun transitoire d’immunité élevée et une protection contre les courts-circuits sur les canaux de sortie. Les pilotes ISO808 offrent également une protection contre la surchauffe par canal avec indépendance thermique des canaux séparés, une protection contre la surchauffe du boîtier, une protection contre la surtension et des protections contre la perte de GND et de VCC.Les pilotes ISO808 comprennent un capteur de température de boîtier supplémentaire qui protège l'ensemble de la puce contre la surchauffe (événement OVC). Les canaux non surchargés continuent de fonctionner normalement. Ces pilotes incluent également la perte de protection de terre, les UVLO VCC et VDD (avec hystérésis) et les fonctions intégrées au chien de garde. Les pilotes ISO808 sont utilisés dans le contrôle de logique programmable, les entrée/sortie périphériques des PC industriels et les machines de contrôle numériques.
Caractéristiques
- Démagnétisation rapide des charges inductives VDEMAG(TYP) = VCC - 54 V
- Faible courant d'alimentation côtés logique et processus
- Arrêt en cas de sous-tension avec redémarrage automatique et hystérésis
- Côté logique 5 V et 3,3 V TTL/CMOS et E/S compatibles microcontrôleur (MCU)
- Broche de désactivation/activation à sortie commune
- Fonction de réinitialisation des sorties désactivées
- Immunité transitoire élevée en mode commun
- Protection contre les surchauffes par canal avec indépendance thermique de canaux séparés
- Protection contre la surchauffe du boîtier
- Protection contre les surtensions (clamping VCC)
- Perte de protections GND et VCC
- Diagnostic à drain ouvert de défaut commun
- Conçu pour satisfaire les normes CEI 61000-4-2, CEI 61000-4-4 et CEI 61000-4-8
- Certification UL1577 et UL508
- Boîtier PowerSO-36
Caractéristiques techniques
- Tension d’alimentation maximale de l’étape de processus : 45 V
- Plage d’exploitation large côté processus de 9,2 VCC à 36 VCC
- Résistance en état ON de 0,125 Ω par canal (standard) RDS(ON)
- Protection contre les courts-circuits sur les canaux de sortie :
- ISO808 ILIM(min.) = 0,7 A
- ISO808 ILIM(min.) = 1 A
- Courant op. côté du processus par canal :
- ISO808 IOUT <>
- ISO808-1 IOUT <>
Applications
- Pilotes pour tous les types de charge :
- Résistif
- Boutons
- Tolérance
- Contrôleurs logiques programmables (PLC)
- Entrée/sortie de périphérique PC industriel
- Machines de contrôle numérique
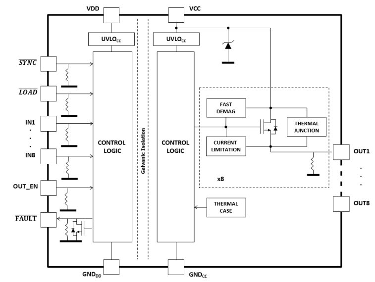
Schéma fonctionnel
Publié le: 2023-01-20
| Mis à jour le: 2025-08-08
