Microchip Technology Horloge/réadaptateur USB 3.2 EQCO5X31
L'horloge/réadaptateur USB 3.2 EQCO5X31 de Microchip Technology intègre les technologies EyeOpen ™ et MargLink ™ pour performances et fiabilité. Le EQCO5X31 de Microchip Technology peut effectuer une horloge et piloter un signal SuperSpeed USB 3.2 sur un câble allant jusqu’à 16 mètres. Le EQCO5X31 dépasse les normes de l’industrie, permettant des applications à plus longue portée. Il étend notamment la longueur maximale du câble de 1 mètre (comme recommandé pour USB 2.0) à un 5 impressionnant mètres pour USB 2.0 et USB 3.2.Caractéristiques
- Étendre la portée de l’USB 3,2 Gen 1 (SuperSpeed) jusqu’à 16 m
- Les types de câbles pris en charge sont à paire torsadée blindée (STP) et coaxiaux
- Longueurs de câble prises en charge
- Jusqu’à 5 m lorsque la signalisation USB 2.0 est incluse dans un câble
- Jusqu’à 16 m quand USB 3.2 uniquement
- La technologie EyeOpen effectue automatiquement une compensation de câble de 0 à 24dB par pas de 1dB
- Capacité de test de l'intégrité des signaux intégrée à MarginLink
- Fonctionnement sans horloge de référence (aucun quartz ou horloge nécessaire)
- La récupération Clock-Data (CDR) rétablit l’intégrité de synchronisation du signal dans les deux sens
- Raccordements internes pour un faible nombre de composants externes
- Transparent pour tous les signaux USB 3.2 SuperSpeed, y compris les LFPS et le courant inactif
- Double canal, une seule voie
- Boîtier QFN de 4 mm 20 broches avec flancs mouillables
- Faible consommation électrique/alimentation simple à 1,2 V
- Mode veille à très faible consommation lorsqu'une liaison est inactive pendant une période prolongée
- Plage de température industrielle
Applications
- Portée étendue pour les systèmes de vidéoconférence
- Câble à portée étendue pour les applications de jeu VR
- Prolongation des câbles USB 3.2 actifs
- Extension des systèmes Vision™ USB 3
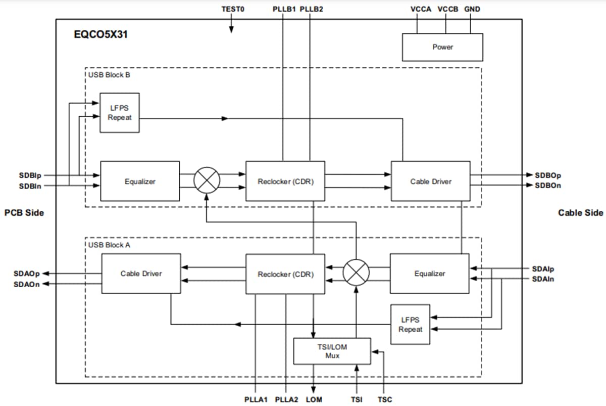
Schéma fonctionnel
Publié le: 2023-06-20
| Mis à jour le: 2023-08-08
