Toshiba Microcontrôleur 32 bits TMPM4K Group(1)
Le microcontrôleur 32 bits TMPM4K Group(1) de Toshiba est basé sur le processeur haute performance Arm® Cortex®-M4 avec UVF. Ce microcontrôleur fonctionne dans une gamme de fréquences de 1 MHz à 120 MHz et une plage de tensions de 2,7 V à 5,5 V. Le microcontrôleur TMPM4K est composé de fonctions d'auto-diagnostic qui prennent en charge la certification de sécurité fonctionnelle conformément à la norme CEI 60730 classe B et autres normes. Ce microcontrôleur inclut des interfaces de codeur et des fonctions de contrôle de moteur programmables qui réduisent les charges UCT / CPU pendant le contrôle de moteur. Le microcontrôleur TMPM4K est doté d'un convertisseur analogique-numérique (CAN) de 12 bits, d'un contrôleur DMA (DMAC), d'un circuit de calcul de CRC (CRC), d'un cuit de communication série asynchrone (UART) et d'un circuit de sélection de déclenchement (TRGSEL). Ce microcontrôleur est utilisé dans des applications telles que les moteurs, les lave-linge, les réfrigérateurs et les équipements industriels.Caractéristiques
- Processeur Arm® Cortex®-M4 avec UVF
- Plage de fréquence de fontionnement de 1 MHz à 120 MHz
- Prend en charge le microprocesseur
- Mémoire flash de 128 KB à 256 KB
- Plages de fonctionnement
- Plage de tension de 2,7 V à 5,5 V
- Faible consommation d'énergie en mode inactif et en mode STOP1
- Mémoire interne
- 128 KB à 256 KB de code flash et jusqu'à 100 000 cycles de réécriture
- 18 KB de RAM, prise en charge de la parité
- Horloge
- Oscillateur haute vitesse externe (EHOSC) (céramique et oscillateur à quartz) de 6 MHz à 24 MHz
- Entrée d'horloge externe haute vitesse (EHCLKIN) de 6 MHz à 24 MHz
- 10 MHz, prend en charge le réglage par l'utilisateur de l'oscillateur interne haute vitesse (IHOSC1)
- BVP 120 MHz
- Circuit de contrôle de moteur programmable avancé (A-PMD)
- 1 à 2 canaux
- Exploitation synchronisée avec sortie MLI triphasée complémentaire et CAN 12 bits
- Prend en charge le contrôle PFC triphasé entrelacé
- Fonction d'arrêt d'urgence par entrées externes (broche EMG et broche OVV)
- Circuit d'entrée de codeur avancé (32 bits, A-ENC32)
- 2 canaux
- Codeur/capteur (3 types)/minuteur/mode de compteur de phase
- Compteur d'événements de minuteur 32 bits (T32A)
- 6 canaux comme minuteur 32 bits et 12 canaux comme minuteur 16 bits
- Minuteur d'intervalle, compteur d'événements, capture d'entrée, comptage sur 2 phases plus, sortie PPG, démarrage synchrone et démarrage et arrêt par déclenchement
- Minuteur de chien de garde sur sélection d'horloge (SIWDT)
- 1 canal
- Une horloge autre que l'horloge système peut être sélectionnée comme horloge source
- Fenêtre Clear, ou sortie d’interruption / de reset sélectionnable
- Interface I2C
- 1 canal, prend en charge l'interface I2C multi-maître
- 1 canal, prend en charge l'interface I2C multi-maître et l'adressage 10 bits, version A (EI2C)
- Convertisseur analogique-numérique (CAN) à 12 bits
- 2 unités, 9 à 12 entrées analogiques
- Temps de conversion de 0,73 µs à fSCLK = 30 MHz
- Fonction de prise en charge du diagnostic automatique
- Fonction de comparaison des résultats de conversion de chaque unité
- Boîtiers
- LQFP64 10 mm x 10 mm, pas de 0,5 mm
- LQFP48 7 mm x 7 mm, pas de 0,5 mm
- LQFP44 10 mm x 10 mm, pas de 0,8 mm
Applications
- Industrie
- Convertisseurs
- Équipement moteur
- Conditionneurs de puissance
- Robots
- Grand public
- Climatiseurs
- Lave-linge
- Réfrigérateurs
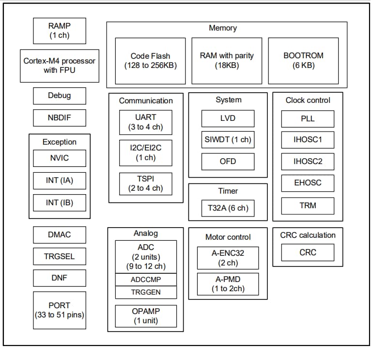
Schéma fonctionnel
Publié le: 2025-02-20
| Mis à jour le: 2025-08-28
