Texas Instruments Pilotes LED LP5899/LP5899-Q1
Texas Instruments LP5899/LP5899-Q1 pilotes LED sont dispositifs compatibles SPI avec un oscillateur interne pour générer le continu horloge requis par le LP589x/LP589x-Q1 famille. Ces pilotes LED intègrent des rapports de défauts dans la chaîne en « chaînette » LP589x/LP589x-Q1 et interne LP5899/LP5899-Q1. Les dispositifs LP5899/LP5899-Q1 peuvent piloter un nombre quelconque de pilotes LED en cascade de la famille LP589x/LP589x-Q1, et le pilote LED limite le nombre maximum de dispositifs en cascade. Ces pilotes LED fonctionnent dans une plage de température de -40°C à 125°C. Les pilotes LP5899/LP5899-Q1 sont idéaux pour une connectivité compatible SPI pour les dispositifs LP5891/LP5891-Q1 et LP5892/LP5892-Q1. Les dispositifs LP5899-Q1 de Texas Instruments sont qualifiés AEC-Q100 pour les applications automobiles.Caractéristiques
- HomologuéS AEC-Q100 pour les applications automobiles :
- Classe 1 : plage de température ambiante de -40 °C à 125 °C
- Niveau de classification du dispositif HBM H3A
- Niveau de classification du dispositif CDM C5
- 2,5 V à 5,5 V tension d'exploitation VCC plage
- Périphérique SPI :
- Vitesse de transfert des données jusqu'à 20 MHz
- Prend en charge plusieurs périphériques avec un seul contrôleur
- contrôleur et périphérique CCSI ( Continuous horloge interface série ) :
- Horloge programmable avec vacillement pour amélioration des EMI
- Diagnostics :
- Broche de défaut à drain ouvert
- Détection de perte de communication SPI
- CRC pour communication SPI
- Intégrité des données CCSI
- Interruption de disponibilité des données
Applications
- Connectivité compatible SPI pour les dispositifs LP5891-Q1 et LP5892-Q1
Schéma d'application
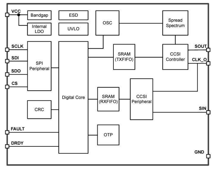
Schéma fonctionnel
Publié le: 2025-01-13
| Mis à jour le: 2025-05-09
