ROHM Semiconductor Décodeur vidéo ML86112 LAPIS
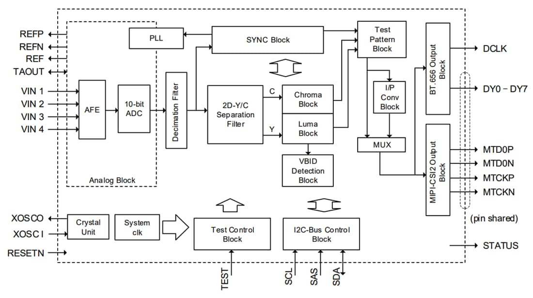
Le décodeur vidéo ML86112 LAPIS de ROHM Semiconductor convertit les signaux vidéo analogiques NTSC et PAL en sortie MIPI-CSI2 ou LVTTL. Ce LSI dispose d'un convertisseur A/N 10 bits à 1 canal intégré et peut accepter deux entrées vidéo composites différentielles ou quatre entrées vidéo composites asymétriques.Le signal composite ML86112 LAPIS du ROHM Semiconductor est séparé en un signal de luminance et un signal de chrominance avec un filtre de séparation Y/C 2 dimensions, ces deux signaux sont ensuite sortis sous forme de signaux vidéo numériques. Les signaux vidéo sont échantillonnés avec une méthode d'échantillonnage d'horloge verrouillée sur la ligne utilisant le BVP intégré. Le format de sortie du MIPI-CSI2 est YUV422 8 bits. Le format LVTTL est le format numérique standard YCbCr BT.601/BT.656 de l'UIT-R.
Caractéristiques
- Décodeur vidéo analogique
- Format d'entrée
- NTSC-M, J, 443
- PAL-B, B1, D, G, H, I, K, M, N, Nc, 60
- Accès d'entrée analogique
- Entrée vidéo composite mono 4 voies
- Entrée vidéo composite différentielle 2 canaux
- Format d'entrée
- Le convertisseur A/N est un CAN 10 bits
- Tampon d'oscillateur intégré avec un oscillateur à quartz externe comme horloge de référence (32 MHz ou 25 MHz)
- Fréquence d'échantillonnage
- NTSC(ITU-R BT.601) : 27,0000 MHz
- NTSC(pixel carré) : 24,5454 MHz
- NTSC(4fsc) : 28,6363 MHz
- PAL(ITU-R BT.601) : 27,0000 MHz
- PAL(pixel carré) : 29,5000 MHz
- Inclut une méthode d'échantillonnage d'horloge verrouillée sur la ligne
- La séparation Y/C est un filtre adaptatif bidimensionnel de séparation Y/C
- Le réglage du niveau de luminance est le contrôle automatique du gain (CAG), le contrôle manuel du gain (CMG) ou le CAG de crête
- Le réglage du niveau de couleur est le contrôle automatique de la couleur (CAC) ou le contrôle manuel de la couleur (CMC)
- Le réglage du contraste est réglable entre 1/32 et 63/32 autour de 128
- Le réglage du décalage de luminance est réglable entre -7IRE et 7IRE
- La compensation des contours est accentuée aux fréquences plus élevées (signal de luminance)
- Le réglage de la teinte est réglable entre -180° et 180°
- Le changement de niveau de couleur CTI est amélioré
- Le jugement automatique de la méthode de signal vidéo d'entrée est la reconnaissance automatique NTSC/PAL (en mode ITU-R BT.601 et en mode NTSC4fsc)
- Détection des données VBI
- Sous-titrage pour NTSC
- CGMS pour NTSC
- WSS pour PAL
- La fonction de conversion IP est une interpolation intra-champ
- L'horloge BVP MIPI-CSI2 utilise un verrouillage de ligne BVP en tant qu'horloge de référence
- Sortie vidéo numérique
- Sortie MIPI-CSI2 ou sortie LVTTL (BT.656) sélectionnable
- Equipé d'un émetteur MIPI-CSI2 (1 voie)
- Format de sortie
- MIPI-CSI2 YUV422 8 bits
- Exploitation continue de l'horloge
- La sortie peut être arrêtée via broche externe / commande d'enregistrement (mode LP)
- LVTTL ITU-R BT.656-4 (YCbCr4:2:2 8 bits avec informations de synchronisation)
- MIPI-CSI2 YUV422 8 bits
- Fréquence de sortie
- MIPI-CSI2 (196,4 Mb/s à 472 Mb/s)
- LVTTL
- 24,5454 MHz à 59 MHz (horloge à bord simple)
- 12,2727 MHz à 29,5 MHz (horloge à double bord)
- La fréquence des pixels est de 12,2727 MHz à 29,5 MHz
- La fonction de détection comprend la détection de synchronisation d'entrée
- La sortie STATUS a une sortie drain ouvert (résistance de rappel externe 1,8 V-3,6 V)
- La fonction veille permet de mettre en veille par commande d'enregistrement
- Interface hôte
- I2C esclave, maximum 400 kHz
- Adresse de l'esclave : 80h (1000_000x), 82h (1000_001x) sélectionnable
- Tension d'alimentation
- Partie d'E/S 3,3 V ±0,3 V
- Partie analogique (AFE/CAN) 3,3 V ± 0,3 V
- Partie MIPI-Tx (pilote HS) 3,3 V ±0,3 V
- Partie du noyau logique 1,2 V ±0,06 V
- BVP partie 1,2 V ±0,06 V
- Partie MIPI-Tx (pilote BVP/LP) 1,2 V ±0,06 V
- Partie d'E/S 3,3 V ±0,3 V
- Température de fonctionnement (température ambiante) de -40 °C à +105 °C
- Boîtier
- WQFN en plastique à 32 broches avec un pas de 0,5 (WQFN32-0505-0,50)
- Flanc mouillable, PAD exposé (GND de la surface arrière)
Applications
- Navigation automobile
- Affichage audio
- Divertissement sièges arrière (RSE)
Diagramme
Publié le: 2024-11-25
| Mis à jour le: 2024-12-31
