ROHM Semiconductor Microcontrôleurs 8 bits ML610Q327/ML610Q338/ML610Q339 LAPIS
Les microcontrôleurs 8 bits ML610Q327/ML610Q338/ML610Q339 LAPIS de ROHM Semiconductor sont des microcontrôleurs (MCU) CMOS 8 bits hautes performances qui intègrent une large variété de périphériques tels que : minuteurs, MLI, UART, interface bus I2C, port série synchrone, convertisseur A/N 10 bits de type « successifs approximation » et fonction de sortie vocale. Le CPU nX-U8/100 peut exécuter les instructions de manière efficace sur la base d'une instruction par impulsion d'horloge grâce au traitement parallèle par l'architecture en pipeline à 3 étages. Le ML610Q327/ML610Q338/ML610Q339 LAPIS de ROHM Semiconductor est également équipé d'une mémoire flash qui a atteint une consommation basse tension et faible puissance (à la lecture) équivalente à une mémoire ROM à masque, il est donc bien adapté aux applications alimentés par batterie telles que les alarmes et les dispositifs portables. De plus, il dispose d'une fonction de débogage sur puce, qui permet le débogage/la réécriture du logiciel avec le LSI monté sur la carte.Caractéristiques
- CPU
- CPU RISC 8 bits (CPU nom : nX-U8/100)
- Système d'instructions : instructions 16 bits
- Jeu d'instructions (transfert, opérations arithmétiques, comparaison, opérations logiques, multiplication/division, manipulations de bits, opérations logiques de bits, saut, saut conditionnel, manipulations de pile de retour d'appel, décalage arithmétique, etc.)
- Fonction de débogage sur puce
- Durée d’exécution minimale des instructions
- Environ 30,5 μs (avec une horloge système de 32,768 kHz)
- Environ 0,244 μs (avec une horloge système de 4,096 MHz) à VDD = 2,0 V à 5,5 V
- Environ 0,122 μs (avec une horloge système de 8,192 MHz) à VDD = 2,2 V à 5,5 V
- Mémoire interne
- Mémoire Flash
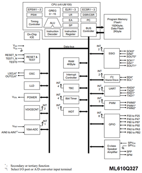
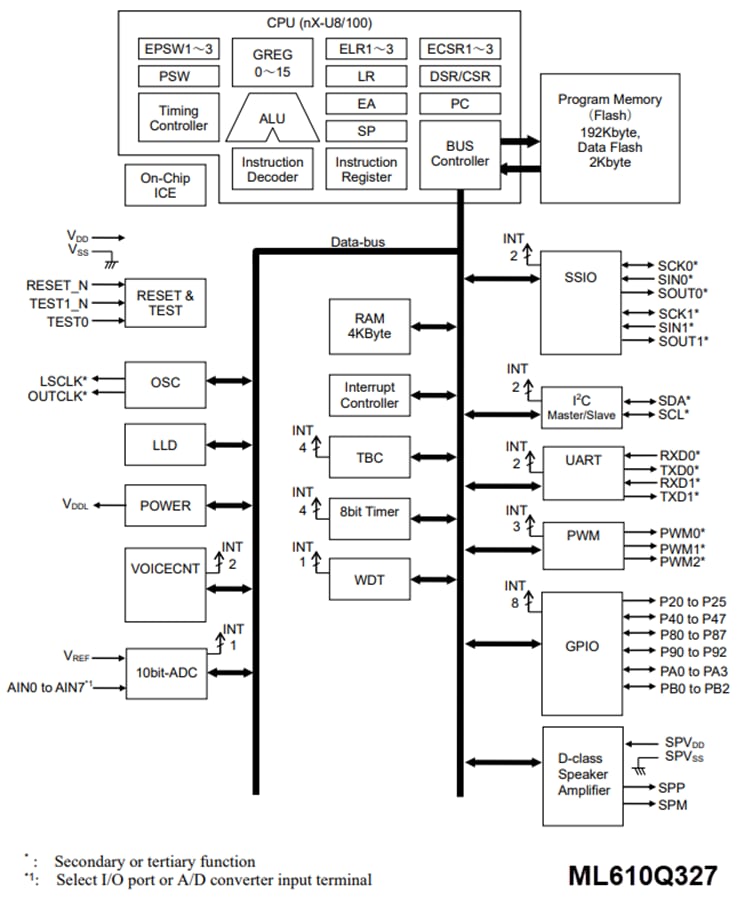
- ML610Q327 - zone de programme de 192 ko (96 k x 16 bits) avec un cycle de réécriture de 100 fois
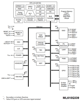
- ML610Q338/ML610Q339 - zone de programme de 256 ko (128 k×16 bits) avec un cycle de réécriture de 100 fois
- Mémoire flash de 2 ko (1 k x 16 bits) avec un cycle de réécriture de 10 000 fois
- Intégrée dans la fonction BGO (opération de mise à la terre arrière) (le CPU continue le traitement du programme pendant l'effacement/l'écriture des données flash)
- RAM interne de 4 ko (4 k x 8 bits)
- Mémoire Flash
- Contrôleur d'interruption
- La source d'interruption non masquable est un minuteur watchdog
- 29 sources d'interruption masquables
- La source interne en compte 21 (effacement/écriture de la mémoire flash de données, SSIO0, SSIO1, UART0, UART1, interface maître/esclave de bus I2C, minuteur 0, minuteur 1, minuteur 2, minuteur 3, PWM0, PWM1, PWM2, convertisseur A/N, reproduction du son de la voix, détection de court-circuit de broche haut-parleur, TBC128Hz, TBC32Hz, TBC16Hz, TBC2Hz)
- Source externe de 8 (P80, P81, P82, P83, P84, P85, P86, P87)
- Compteur de base de temps
- Compteur de base de temps à basse vitesse x 1 canal
- Compteur de base de temps à haute vitesse x 1 canal
- Minuteur watchdog
- Générez une interruption non masquable lors du premier dépassement et une réinitialisation du système se produit lors du deuxième
- Fonctionnement autonome
- Période de dépassement de quatre types, sélectionnable comme 125 ms, 500 ms, 2 s et 8 s à 32,768 kHz
- Minuteur (8 bits x 4 canaux (configuration 16 bits disponible)
- MLI à une résolution de 16 bits x 3 canaux
- Fonction de sortie vocale
- Méthode de synthèse vocale HQ-ADPCM, ADPCM2 4 bits, PCM non linéaire 8 bits, PCM linéaire 8 bits et PCM linéaire 16 bits
- Fréquence d'échantillonnage de 6,4 kHz, 8 kHz, 10,7 kHz, 12,8 kHz, 16 kHz, 21,3 kHz, 25,6 kHz et 32 kHz
- Convertisseur A/N de type « approximation successive »
- Convertisseur A/N 10 bits
- Entrée de 8 canaux
- Temps de conversion de 24,4 μs par canal à 4,096 MHz VDD ≥ 2,2 V
- Temps de conversion de 12,2 μs par canal à 8,192 MHz VDD ≥ 2,5 V
- Conversion continue / conversion unique sélectionnable
- Port série synchrone (SSIO)
- 2 canaux
- Maître/esclave sélectionnable
- LSB en premier / MSB en premier sélectionnable
- Longueur de 8 bits / longueur de 16 bits sélectionnable
- UART
- Demi-duplex x 2 canaux (un plein duplex est également possible en utilisant 2 canaux)
- TXD/RXD
- Longueur du bit, parité / pas de parité, parité impaire / parité paire, 1 bit d'arrêt / 2 bits d'arrêt
- Logique positive/négative sélectionnable
- Générateur de vitesse de transmission intégré
- Interface de bus I2C
- Fonction maître (mode standard (100 kb/s) et mode rapide (400 kb/s))
- Fonction esclave (mode standard (100 kb/s) et mode rapide (400 kb/s))
- Accès de fonction générale
- Accès de sortie uniquement x 6 canaux (y compris les fonctions secondaires)
- Accès entrée/sortie (y compris les fonctions secondaires)
- ML610Q327 26 canaux
- ML610Q338 30 canaux
- ML610Q339 42 canaux
- Puissance de sortie de l'amplificateur de haut-parleur (classe D)
- 1,0 W (à 5,0 V) / 0,45 W (à 3,0 V)
- Circuit de détection de déconnexion
- Circuit de détection de court-circuit de la broche d'enceinte
- Réinitialisation
- Réinitialisation via la broche RESET_N
- Génération de réinitialisation à la mise sous tension lorsqu'alimenté
- Réinitialisation par dépassement du minuteur watchdog (WDT)
- Réinitialisation par détection de l'arrêt de l'oscillation BVP
- Réinitialisation de la détection de bas niveau (LLD)
- Horloge
- Horloge à basse vitesse (oscillation RC intégrée (32,768 kHz))
- Horloge à haute vitesse (oscillation BVP intégrée (environ 1,024 MHz/2,048 MHz/4,096 MHz/8,192 MHz))
- Gestion de l'alimentation
- Mode STOP (arrêt de l'oscillation (les opérations du CPU et des circuits périphériques sont arrêtées))
- Mode HALT (l'exécution des instructions par le CPU est suspendue (les circuits périphériques sont en état de fonctionnement))
- Horloge (la fréquence de l'horloge du système à haute vitesse peut être modifiée par logiciel (1/2, 1/4, 1/8 ou 1/16 de l'horloge d'oscillation))
- Fonction de contrôle de bloc (l'exploitation d'un circuit de bloc fonctionnel intact est interrompue (le registre, la réinitialisation et l'horloge s'arrêtent))
- Boîtiers
- ML610Q327 TQFP 48 broches (P-TQFP48-0707-0.50-ZK6)
- ML610Q338 TQFP 52 broches (P-TQFP52-1010-0.65-ZK6)
- ML610Q339 TQFP 64 broches (P-TQFP64-1010-0.50-ZK6)
- Plage de fonctionnement garantie
- Température de fonctionnement de -40 °C à 85 °C
- Tension d'exploitation VDD = 2,0 V à 5,5 V, SPVDD = 2,0 V à 5,5 V
Applications
- Électronique grand public
- Dispositifs IoT (Internet des objets)
- Électronique automobile
- Automatisation industrielle
- Jouets et produits éducatifs
- Systèmes de sécurité
- Wearables
Publié le: 2024-11-27
| Mis à jour le: 2024-12-23
