ROHM Semiconductor Émetteur-récepteur CAN automobile BD41041FJ-C
L'émetteur-récepteur CAN automobile BD41041FJ-C de ROHM Semiconductor est un émetteur-récepteur LSI pour la communication CAN (entièrement conforme à la norme ISO 11898-2:2016). Il est équipé de circuits qui fonctionnent comme émetteur et récepteur, nécessaires à la communication CAN à haut débit (jusqu'à 1 Mbit/s). Le BD41041FJ-C de ROHM Semiconductor est certifié AEC-Q100, dispose d'un débit de transmission de 40 kbit/s à 1 Mbit/s et d'une correspondance de mode d'économie d'énergie.Caractéristiques
- Homologué AEC-Q100
- Débit de transmission de 40 kbit/s à 1 Mbit/s
- Correspondance mode économie d'énergie
- Sortie de tension SPLIT pour stabiliser le niveau récessif du bus
- Fonction de détection de sous-tension
- Fonction d'arrêt thermique (TSD)
- Fonction de temporisation de la dominante TXD (mode normal)
- Fonction de temporisation de la dominante du bus CAN (mode veille)
- Capacité de réveil du bus
Caractéristiques techniques
- Plage de tension de fonctionnement recommandée de 4,75 V à 5,25 V
- Tension nominale maximale absolue STB, TXD, RXD de -0,3 V à +7,0 VCC,
- Valeur nominale maximale absolue CANH, CANL, SPLIT de -27 V à +40 V
Applications
- Communication CAN pour les réseaux automobiles
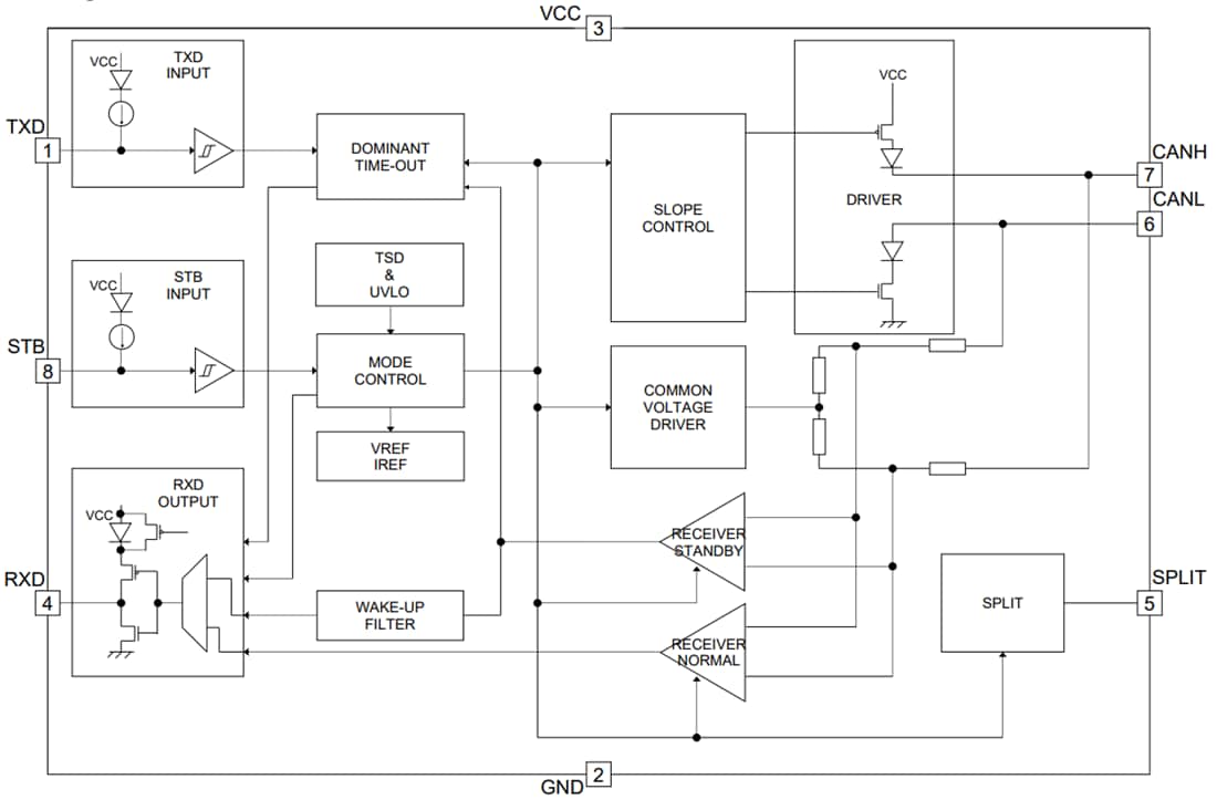
Schéma fonctionnel
Publié le: 2022-05-27
| Mis à jour le: 2022-05-31
