Renesas Electronics Matrice de signaux mixtes SLG4752x GreenPAK™
La matrice de signaux mixtes SLG4752x GreenPAK™de Renesas Electronics est conçue pour des fonctions de signaux mixtes efficaces dans diverses applications. Ces composants de Renesas Electronics offrent une large plage de capacités de décalage de niveau, pouvant accueillir des tensions de 0,95 V à 1,98 V et 1,71 V à 5,5 V. Les dispositifs disposent d’interfaces de communication sur les domaines VDD1 et VDD2, avec des sources de domaine VDD sélectionnables pour les broches I2C. La taille compacte et les blocs analogiques et numériques entièrement configurables de ces dispositifs simplifient les projets à signaux mixtes en réduisant à la fois leur taille et leur coût. De plus, ces composants prennent en charge des modes flexibles d’économie d’énergie définis par l’utilisateur sur toutes les macrocellules, assurant ainsi un rendement énergétique optimal. La configuration est simple grâce à la plateforme logicielle intuitive Go Configurer.Caractéristiques
- Large plage de capacités de décalage de niveau
- 1er produit GreenPAK offrant une interface entre les rails 0,95 V et 1,98 V ainsi que 1,71 V et 5,5 V.
- Interfaces de communication disponibles sur les domaines VDD1 et VDD2
- Source de domaine VDD sélectionnable pour les broches I2C
- Petit boîtier et vaste ensemble de blocs analogiques et numériques entièrement configurables permettant de réduire la taille et le coût des projets à signaux mixtes
- Modes d’économie d’énergie flexibles définis par l’utilisateur pour toutes les macrocellules
Applications
- Ordinateurs et serveurs personnels
- Périphériques pour ordinateurs
- Produits électroniques grand public
- Équipement de communication de données
- Électronique portable et portative
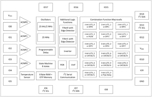
Schéma fonctionnel
Publié le: 2024-08-19
| Mis à jour le: 2024-10-21
