Renesas Electronics Microcontrôleurs 32 bits RZ/N1L
Les microcontrôleurs 32 bits RZ / N1L de Renesas Electronics sont une solution de communication industrielle intégrée basée sur un double CPU Arm® Cortex ®-A7 500 MHz et Cortex ® - M3 à 125 MHz. Ces MCU offrent une fréquence d'oscillateur RTC de 32 kHz. Les MCU RZ/N1L disposent d'un FPU sur puce, de jusqu'à 6 Mo de SRAM élargie sur puce avec ECC et de fonctionnalités Ethernet élargies, y compris un commutateur Ethernet 5 ports sophistiqué. Ces MCU disposent également d'un GMAC Ethernet indépendant et prennent en charge EtherCAT®, Sercos® , Profinet®, ETHERNET Powerlink® , EtherNet/IP™ , DLR, PRP et HSR.Caractéristiques
- Arm Cortex-A7 MPCore 32 bits sur puce :
- Jusqu'à 500 MHz
- Cœur simple ou double
- FPU, VFPv4-D16
- MMU
- Mémoire-cache L1 16 ko (instruction)/16 ko (données) par cœur
- Cache L2 jusqu'à 256 Ko
- Processeur Arm Cortex-M3 32 bits sur puce :
- Jusqu'à 125 MHz
- Unité de protection de la mémoire (MPU) prise en charge
- Caractéristiques de faible consommation :
- Gestion du déclenchement de l'horloge
- Évolutivité de la fréquence d'horloge
- SRAM élargie sur puce :
- Jusqu'à 6 Mo avec ECC
- Transfert de données :
- 2 x DMAC avec 8 canaux chacun
- Interfaces de mémoire :
- Jusqu'à 2 x quad SPI/XIP
- Flash NAND avec gestion ECC avancée
- Interface DDR 16 bits (DDR2-500/DDR3-1000)
- Jusqu'à 2 x SD/SDIO/eMMC
- Moteur R-IN :
- CPU Arm Cortex-M3
- Accélérateur matériel RTOS (HW-RTOS)
- Accélérateur Ethernet matériel
- Fonctionnalités Ethernet avancées en temps réel :
- Contrôleur esclave SercosIII
- Contrôleur esclave EtherCAT 3 ports
- Commutateur 5 (4 + 1) ports avancé (A5PSW)
- Commutateur 5 ports avec QoS et IEEE1588
- Ports présentant jusqu'à 5 Gbit
- Conformité PRP à la norme cei62439-3 Ed2.0-2012 (option)
- Commutateur 5 ports avec QoS et IEEE1588
- Conformité HSR à la norme cei62439-3 Ed2.0-2012 (option)
- Jusqu'à 2 GMAC et IEEE1588 indépendants
- Jusqu'à 5 ports externes avec MII/RMII/RGMII
Ressources supplémentaires
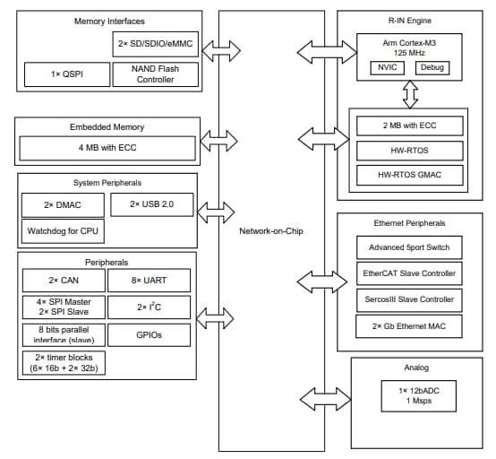
Schéma fonctionnel
Publié le: 2020-10-14
| Mis à jour le: 2023-05-31
