Renesas Electronics Synchronisateurs sans fil FemtoClock®3 RC38x12
Les synchroniseurs et atténuateurs de vacillement sans fil à 3 canaux et à très faible bruit de phase FemtoClock ® 3 RC38x12 de Renesas Electronics comprennent les dispositifs RC38312 et RC38112. Ces dispositifs sont des synchroniseurs radio à bruit de phase ultra-faible, des synthétiseurs d’horloge multifréquence et des oscillateurs à commande numérique (DCO). Le RC38x12 offre des performances exceptionnelles pour les unités radio (RU) 5 G, les unités de distribution (DU) et les commutateurs/routeurs réseau. Sa capacité à produire des horloges avec un bruit de phase dans la bande très faible et des niveaux de bruit parasite considérablement réduits améliore la fiabilité et l'efficacité des émetteurs-récepteurs RF 4G/5G.Le RC38x12 Renesas Electronics offre une marge importante sur la gigue d’horloge de référence, avec jusqu’à trois domaines de synchronisation et quatre domaines de fréquence, permettant aux concepteurs de simplifier les conceptions PCB globales et fournissant une solution de synchronisation unique prenant en charge la synchronisation via CPRI ou eCPRI et la génération d’horloge RF. Ces composants offrent une faible dissipation de puissance et une zone plus petite tout en atteignant une gigue ultra-faible et en maintenant une cohérence de phase ultra-faible essentielle pour les conceptions d’unités radio BTS 5 G et 5 G-A. Offrant de la flexibilité, le RC38x12 permet le verrouillage des horloges de référence externes ou des quartz/oscillateurs en fonctionnement libre. Ces dispositifs sont dotés d'une commutation de référence sans coupure qui garantit un service ininterrompu même lors de la commutation entre des sources de synchronisation redondantes, ce qui en fait un choix idéal pour fournir une synchronisation robuste et précise dans les applications de télécommunication.
Caractéristiques
- Synthétiseur à très faible bruit de phase avec gigue inférieure à 25fs RMS, 12 kHz à 20 MHz avec HPF 4 MHz
- Trois domaines indépendants de synchronisation du bruit de phase faible
- Quatre domaines indépendants de fréquence de bruit de phase faible
- Prise en charge de JESD204B/C
- Bloc de synchronisation temporelle avec convertisseur temps-numérique (TDC), compteur d’heure de journée (TOD) et horloges PTP
- Douze sorties d’horloge avec diviseurs entiers indépendants
- 8 : LVDS, HCSL (CA-LVPECL) ou CML
- 4 : LVDS, HCSL (CA-LVPECL) ou LVCMOS
- Plages de fréquence de Sortie
- CC jusqu’à 2,5 GHz pour CML
- CC jusqu’à 1 GHz pour LVDS ou HCSL
- CC jusqu’à 250 MHz pour LVCMOS
- Quatre entrées d’horloge différentielles ou asymétriques
- Fonctionne à partir d’une alimentation 1,8 V
- Les entrées d’orloge tolèrent l’entrée 1,8 V lorsque le dispositif est éteint, en dissipant moins de 1 mA
- Plage de fréquence d’entrée de CC à 1 GHz CLKIN
- La TDC de synchronisation temporelle prend en charge les entrées 1 PPS et PP2S
- Les DPLL sont conformes aux normes UIT-T G.8262 et G.8262.1
- Variation de phase entrée-sortie DPLL de ≤ 100 ps
- Résolution de fréquence DCO <>
- Boîtier 9 mm × 9 mm, 100-BGA
Applications
- Unités radio (RU) 5 G
- DCO haute performance pour horloges basées sur un protocole de temps de précision (PTP)
- Unités de distribution (DU), commutateurs et routeurs 5 G
- Horloge de référence pour SerDes 112 Gbps et 224 Gbps
Cas d’utilisation type de l’unité radio 5 G
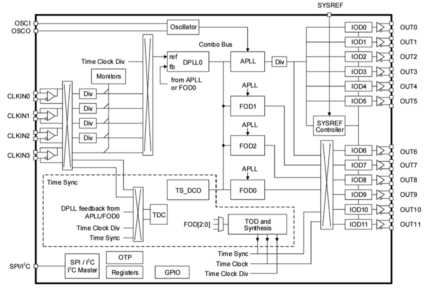
Schéma fonctionnel RC38112
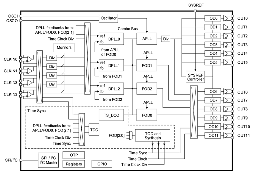
Schéma fonctionnel RC38312
