Renesas Electronics Atténuateurs de vacillement FemtoClock®3 sans fil RC38x08
Les générateurs d'horloge et les atténuateurs de vacillement à très faible bruit de phase sans fil FemtoClock®3 RC38x08 de Renesas Electronics incluent les dispositifs haute performance à petit facteur de forme RC38208 et RC38108. Ces composants sont des atténuateurs de vacillement à très faible bruit de phase, des synthétiseurs d’horloge multi-fréquence et des oscillateurs commandés numériquement (DCO). Les dispositifs RC38x08 flexibles et faible puissance génèrent des horloges avec un bruit de phase et des parasites en bande ultra-faibles pour les émetteurs-récepteurs RF 4G/5G et avec une gigue inférieure à 25fs RMS pour les SerDe 112 Gbps et 224 Gbps. Le RC38x08 peut gérer jusqu’à trois domaines de synchronisation, prenant en charge les méthodes CPRI/eCPRI et de synchronisation telles que IEEE 1588, Ethernet synchrone (SYNC), GPI ou GNSS. Le RC38x08 simplifie la génération d’horloge système avec jusqu’à quatre domaines de fréquence, tandis que les LDO intégrés fournissent un PSRR supérieur, réduisant ainsi la complexité de la carte de circuit imprimé. Cette simplification en fait un excellent choix pour les applications comme la synchronisation pour l'optique frontale CNA/CAN et DSP, les horloges de référence pour SerDes à haut débit, les unités de distribution 5G et le DCO haute performance pour les horloges basées sur PTP.Caractéristiques
- Synthétiseur à bruit de phase ultra-faible avec gigue inférieure à 25 fs RMS, 12 kHz à 20 MHz avec HPF 4MHz
- Deux domaines indépendants de synchronisation du bruit de phase faible
- Quatre domaines indépendants de fréquence de bruit de phase faible
- Prise en charge de JESD204B/C
- bloc de synchronisation temporelle avec convertisseur temps-numérique (TDC), compteur d’heure de journée (TOD) et horloges PTP
- Huit sorties d’horloge avec diviseurs entiers indépendants
- 6 : LVDS, HCSL (CA-LVPECL) ou CML
- 2 : LVDS, HCSL (CA-LVPECL) ou LVCMOS
- Plage de fréquence de sortie
- CC jusqu’à 2,5 GHz pour CML
- CC jusqu’à 1 GHz pour LVDS ou HCSL
- CC jusqu’à 250 MHz pour LVCMOS
- Deux entrées d'horloge différentielles configurables en quatre entrées d'horloge asymétriques
- Fonctionne à partir d’une alimentation 1,8 V
- Les entrées d’orloge tolèrent l’entrée 1,8 V lorsque le dispositif est éteint, en dissipant moins de 1 mA
- Plage de fréquence d’entrée de CC à 1 GHz CLKIN
- La TDC de synchronisation temporelle prend en charge les entrées 1 PPS et PP2S
- Les DPLL sont conformes aux normes UIT-T G.8262 et G.8262.1
- Variation de phase entrée-sortie DPLL de ≤ 100 ps
- résolution de fréquence DCO <>
- Boîtier 7 mm × 7 mm, 64-BGA
Applications
- Synchronisation pour CNA/CAN et DSP frontal optique
- DCO haute performance pour horloges basées sur un protocole de temps de précision (PTP)
- Horloge de référence pour SerDes 112 Gbps et 224Gbps
- Unités de distribution (DU), commutateurs et routeurs 5 G
Cas d’utilisation type du frontal optique
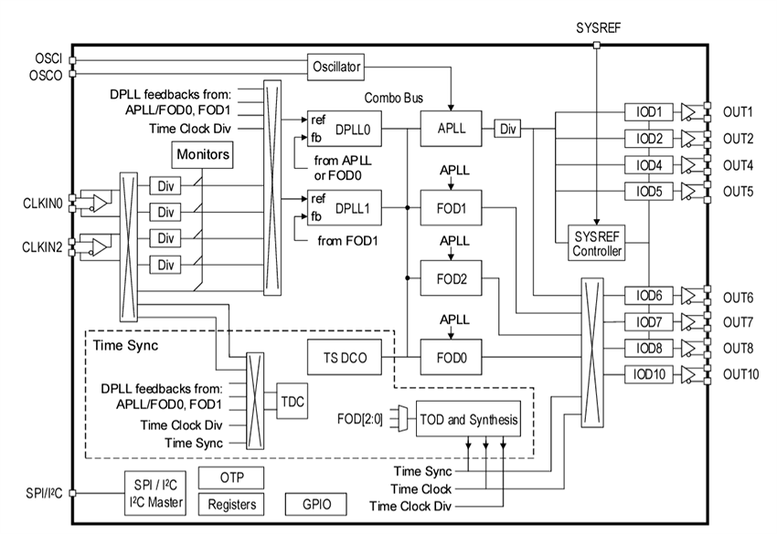
Schéma fonctionnel RC38108
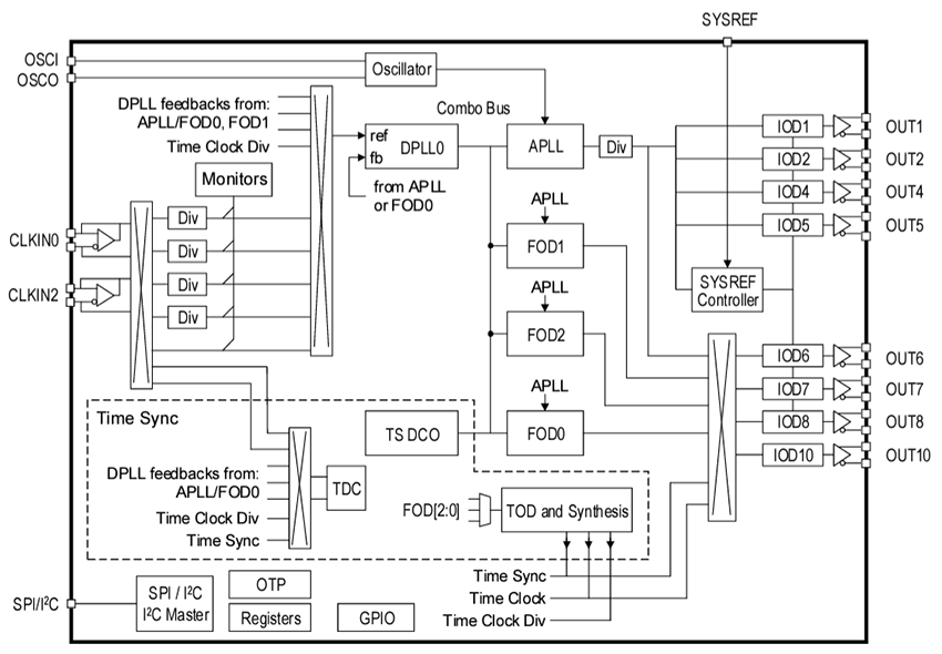
Schéma fonctionnel RC38208
Publié le: 2024-10-11
| Mis à jour le: 2024-12-02
