Renesas Electronics Multiplexeurs et tampons d'horloge RC190xxA PCIe Gen5/6
Les multiplexeurs et tampons d'horloge PCIe Gen5/6 RC190xxA de Renesas Electronics disposent d'une gigue additive ultra-faible et d'une source intégrée de 85 Ω ou 100 Ω qui économise jusqu'à 96 résistances externes pour une variante de tampon 24 canaux. L'interface série haut débit (SBI) prend en charge l'activation de sortie et la mise en guirlande du dispositif. La sécurité du système sur le RC190xxA est assurée par une protection en écriture SMBus.Les multiplexeurs et tampons d'horloge PCIe Gen5/6 RC190xxA de Renesas offrent une température de fonctionnement étendue dans un petit boîtier.
Caractéristiques
- Faible gigue de phase additive
- Gigue de phase additive 6fs RMS PCIe Gen5
- Gigue de phase additive 4fs RMS PCIe Gen6
- Délai de propagation in-out maximal <1,5 ns
- Entrée tolérante à la mise hors tension (PDT) et séquençage de démarrage flexible (FSS)
- Stationnement automatique de l'horloge (ACP)
- Vitesse de balayage en sortie sélectionnable via broche ou SMBus
- Interface à bande latérale 4 fils
- 9 adresses SMBus sélectionnables
- Protection en écriture SMBus
- Options de produit d'impédance de sortie 85 Ω ou 100 Ω
- Fonctionnement de -40 ºC à +105 °C, 3,3 V±10 %
Applications
- Informatique haute performance/cloud
- Stockage nVME
- Applications réseaux
- Accélérateurs
- Informatique
- Industriel
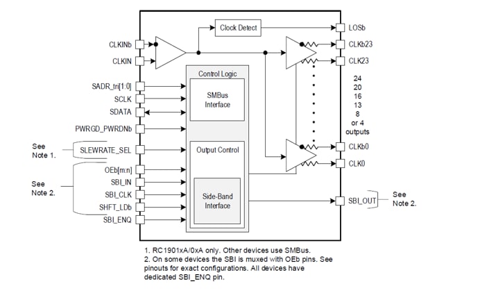
Schéma fonctionnel
Publié le: 2022-01-24
| Mis à jour le: 2022-07-21
