Renesas Electronics CI gestionnaire de batterie Li-ion RAA489204
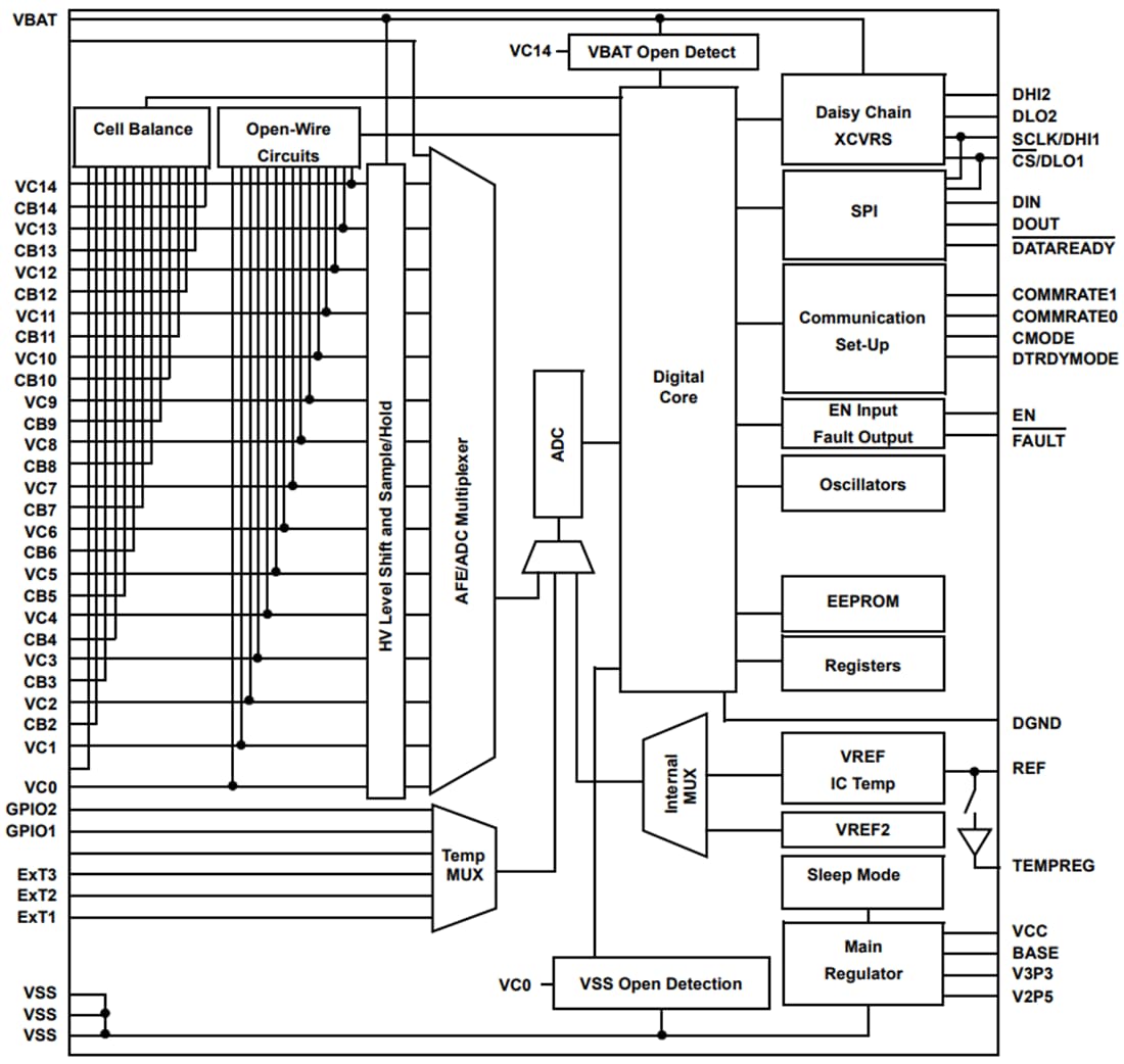
Le CI gestionnaire de batterie Li-ion de classe industrielle RAA489204 de Renesas Electronics supervise jusqu'à 14 cellules connectées en série et il est optimisé pour répondre aux exigences strictes en matière de performances, de fiabilité et de sécurité industrielles. Le dispositif fournit toutes les fonctions attendues d'un tel composant critique dans un système de gestion de batterie, telles que la surveillance précise de la tension et de la température des cellules, l'équilibrage des cellules et des diagnostics système complets.Dans une configuration standard, un module maître RAA489204 communique avec un microcontrôleur hôte via un port SPI et jusqu'à 29 dispositifs RAA489204 supplémentaires connectés par une solide chaîne de mise en guirlande à deux fils propriétaire. Ce système de communication est extrêmement flexible et peut être mis en œuvre avec une isolation de condensateur, une isolation de transformateur ou une combinaison des deux.
Trois modes d'équilibrage des cellules sont inclus (mode d'équilibre manuel, mode d'équilibre chronométré et mode d'équilibrage automatique). Le mode d'équilibrage automatique termine l'équilibrage une fois qu'une quantité de recharge spécifiée par l'hôte a été retirée de chaque cellule. Le RAA489204 de Renesas Electronics est fourni en boîtier TQFP à 64 broches et il est spécifié pour un fonctionnement de -40 °C à +85 °C.
Caractéristiques
- Surveille et gère jusqu'à 14 cellules ; toutes les chimies de cellules Li-Ion standard
- Système de communication robuste en guirlande à deux fils utilisant un couplage de condensateur ou de transformateur jusqu'à 1 Mbit/s
- Protocole de communication haute sécurité
- Précision de mesure de tension de cellule +/-10 mV
- Jusqu'à six entrées externes de surveillance de la température
- Surveillance de la température interne avec indicateur d'avertissement
- Deux broches E/S à usage général
- Détection automatique de la position dans une pile de batterie
- Mesure et effectue la lecture de toutes les tensions, températures et diagnostics pour 112 cellules en moins de 10 ms
- Fonction de moyenne de mesure de cellule sélectionnable par l'utilisateur
- Mesures de la tension et de la température sur 14 bits
- Diagnostics système intégrés pour toutes les fonctions clés
- Un watchdog éteint l'appareil en cas de perte de communication
- Totalement tolérant aux EMC et aux transitoires
Applications
- Blocs de batteries pour mobilité électrique
- Équipement portable et semi-portable
- Systèmes de stockage d'énergie et de batterie de secours nécessitant une gestion et une surveillance de haute précision
Schéma de principe
