Power Integrations SIC1182K SCALE-iDriver™ SiC MOSFET Gate Drivers
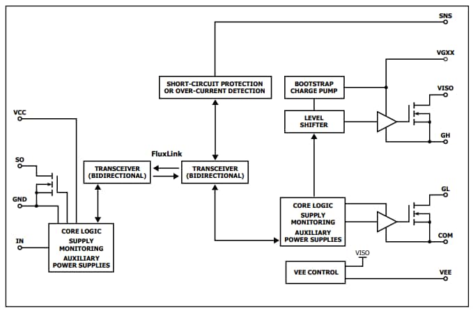
Power Integrations SIC1182K SCALE-iDriver™ SiC MOSFET Gate Drivers are single-channel drivers with advanced active clamping. These MOSFET drivers feature up to ±8A peak gate output current and integrated FluxLink™ technology that provides up to 1200V reinforced isolation. The SIC1182K drivers are suitable for 600V, 650V, or 1200V SiC MOSFET switches. These MOSFET drivers come with primary and secondary Undervoltage Lock-Out (UVLO) protection, over-current fault turn-off, and short-circuit current fault turn-off protection features. Power Integrations SIC1182K drivers offer up to 150kHz switching frequency. Typical applications include photovoltaics, UPS, welding inverters, power supplies, and general-purpose and servo drives.Features
- A single-channel gate driver
- Integrated FluxLink technology that provides reinforced isolation
- Advanced active clamping
- UVLO primary and secondary side
- Over-current faulty turn-off
- Short-circuit current fault turn-off
- Unipolar supply voltage for the secondary side
- Rail-to-rail stabilized output voltage
- Turn-off over-voltage limitation
- High-common mode transient immunity
- 100% production partial discharge and HIPOT compliance testing
Specifications
- ±8A peak gate output current
- Up to 150kHz switching frequency
- ±5ns propagation delay jitter
- Up to 1200V maximum blocking voltage (reinforced isolation)
- eSOP-R16B package with 9.5mm creepage and clearance
- -40°C to +125°C operating ambient temperature
Applications
- Photovoltaics
- UPS
- Welding inverters
- Power supplies
- General purpose and servo drives
Block Diagram
Application Circuit Diagram
Publié le: 2019-04-03
| Mis à jour le: 2023-11-09
