onsemi Pilote côté haut auto-protégé NCV8445
Le pilote côté haut auto-protégé Onsemi NCV8445 est un pilote côté haut entièrement protégé qui peut commuter diverses charges, telles que des ampoules, des solénoïdes et d'autres actionneurs. Le NCV8445 d'Onsemi est protégé en interne contre les conditions de surcharge par une limite du courant active et un arrêt thermique. Une sortie de diagnostic signale les conditions de charge ouverte en état ON et OFF et les arrêts thermiques.Caractéristiques
- Protection contre les courts-circuits
- Arrêt thermique avec redémarrage automatique
- Entrée de contrôle compatible CMOS (3,3 V/5 V)
- Détection de charge ouverte en état activé et état bloqué
- Sortie de diagnostic
- Mise à l'arrêt en cas de sous-tension ou surtension
- Perte de protection ground >>> terre / mise à la terre
- Protection DES
- Contrôle de la vitesse de balayage pour une commutation à faible EMI
- Courant de veille très faible
- Préfixe NCV pour les applications automobiles et autres applications nécessitant des exigences uniques en matière de site et de contrôle des modifications ; certifié AEC-Q100 et compatible PHPP
- Ces dispositifs sont sans plomb et conformes à la directive RoHS
Applications
- Commutent diverses charges résistives, inductives et capacitives
- Peuvent remplacer les relais électromécaniques et les circuits discrets
- Automobile ou industriel
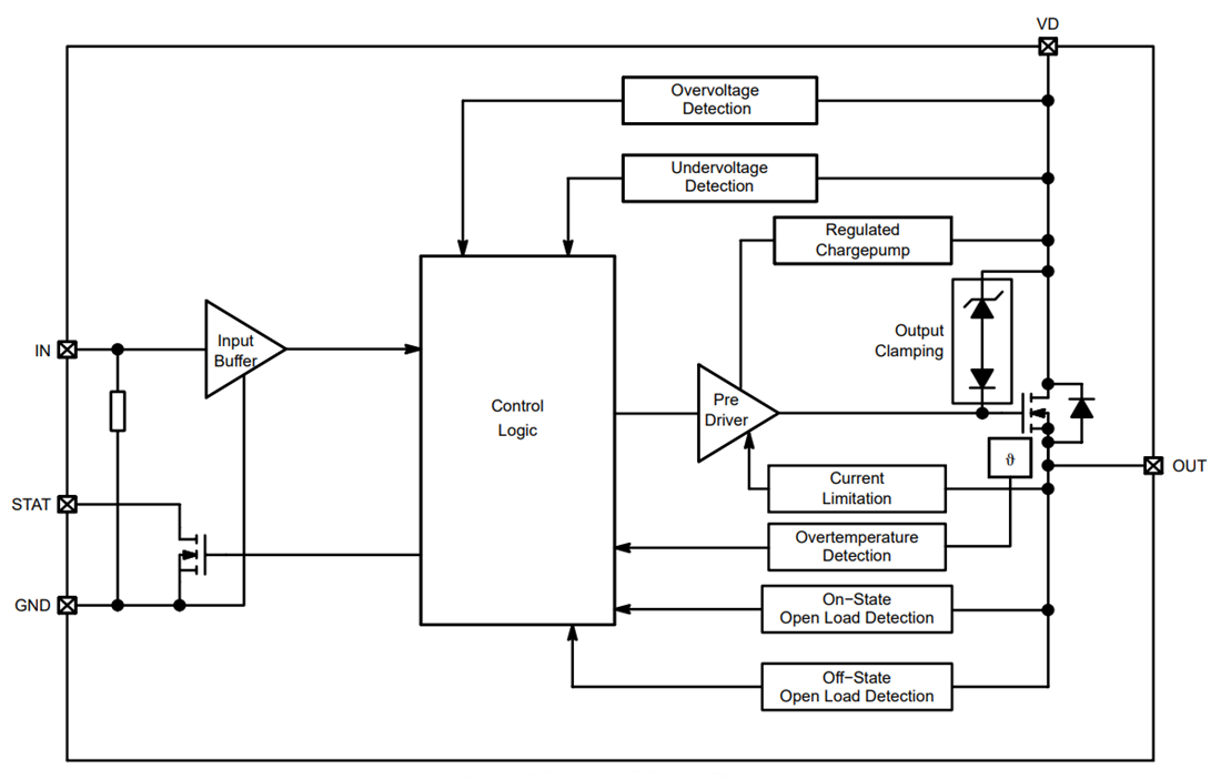
Schéma fonctionnel
Publié le: 2024-11-25
| Mis à jour le: 2024-12-03
