onsemi Shunt LED NUD4700
Les shunts LED NUD4700 d’onsemi sont conçus pour être utilisés avec des LED de 1 W (nominalement 350 mA à 3 V). Ces shunts fournissent une dérivation de courant en cas de LED unique en circuit ouvert. Les shunts LED NUD4700 se réinitialisent automatiquement si la LED est remplacée ou si le shunt est réparé. Ces shunts caractérisent une tension à l’état passant standard de 1 V et un courant à l’état bloqué inférieur à 250 µA. Les shunts LED NUD4700 sont homologués AEC-Q101 et compatibles PHPP. Ces shunts sont sans plomb et sans halogène/BFR et sont conformes à la directive RoHS. Les applications typiques incluent les LED pour lesquelles la maintenance préventive n’est pas pratique, les phares à LED, les LED avec des exigences de haute fiabilité et la protection contre les surtensions en cas de circuit ouvert.Caractéristiques
- Un dispositif simple à deux bornes
- Se réinitialisent automatiquement si la LED se répare ou est remplacée.
- Tension à l’état passant (généralement) de 1 V
- Courant à l’état bloqué inférieur à 250 μA
- Disponible avec un boîtier blanc
- Homologué AEC-Q101 et compatible PHPP
- Sans plomb et sans halogène/BFR
- Conforme à la directive RoHS
Applications
- LED où l’entretien préventif n’est pas pratique
- Phares LED
- LED avec des exigences de haute fiabilité
- Protection crowbar (pied de biche) en cas de circuit ouvert
- Protection contre les surtensions pour les circuits sensibles
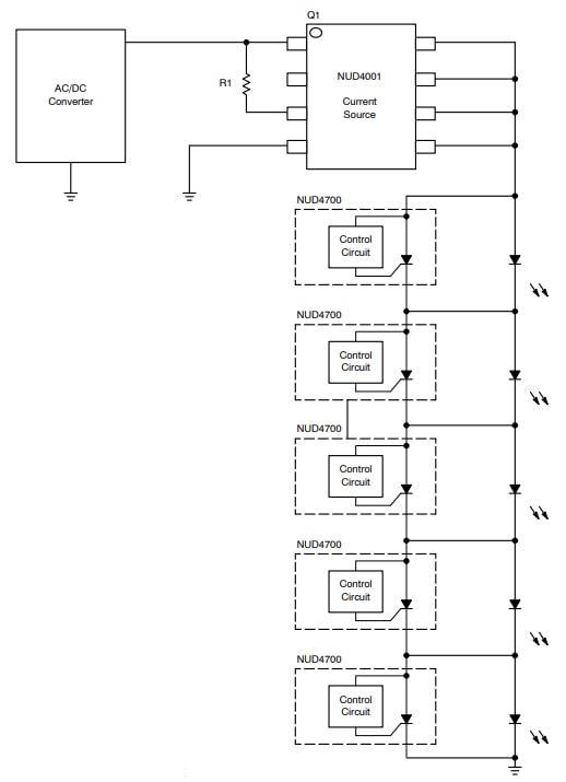
Circuit d'application standard
Ressources supplémentaires
Publié le: 2025-11-10
| Mis à jour le: 2025-11-20
