onsemi Pilote côté haut auto-protégé NCV8461
Le pilote high-side auto-protégé NCV8461 d'Onsemi avec arrêt de thermique et limite du courant est utilisé pour commuter des charges telles que des solénoïdes, des ampoules et des activateurs. Ce pilote comprend une entrée de contrôle compatible CMOS (3V/5V) et un arrêt thermique avec redémarrage automatique. Le pilote high-side NCV8461 est doté d'une détection de charge ouverte en état bloqué, d'une protection DES, d'un courant de veille très faible, d'une sortie de diagnostic drain ouvert et d'une fonction d'arrêt sous tension insuffisante. Ce pilote est sans Pb et certifié AEC-Q100. Le pilote high-side NCV8461 est utilisé pour remplacer les relais électromécaniques et les circuits discrets. Ce pilote est idéal pour les exigences industrielles et automobiles.Caractéristiques
- Entrée de contrôle compatible CMOS (3 V/5 V)
- Arrêt thermique avec redémarrage automatique
- Détection de charge ouverte à l'état bloqué
- Protection DES
- Courant de veille très faible
- Sortie de diagnostic drain ouvert
- Perte de mise à la terre et perte de protectionVD
- Protection contre l'inversion de polarité de la batterie (avec résistance externe)
- Arrêt en sous-tension
- Plage de tension d'exploitation de 5 V à 34 V
- Plage de température de fonctionnement de -40 °C à 150 °C
- Protection contre les courts-circuits
- Qualification AEC-Q100
Applications
- Commutation de charges résistives, inductives et capacitives
- Remplacement des relais électromécaniques et des circuits discrets
- Automobile
- Exigences industrielles
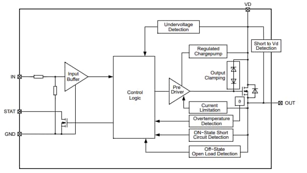
Schéma fonctionnel
Publié le: 2024-12-09
| Mis à jour le: 2024-12-24
