onsemi Régulateurs LDO NCP705 500 mA
Les régulateurs LDO NCP705 500 mA d'Onsemi sont idéaux pour les applications RF sensibles au bruit telles que les amplificateurs de puissance dans les radios satellites, les équipements d'infodivertissement et les instruments de précision qui nécessitent des alimentations électriques très propres. Le NCP705 est un LDO de 500 mA qui fournit à l'ingénieur une tension stable et précise avec un bruit ultra-faible et un rapport de rejet d'alimentation électrique (PSRR) de haute puissance adapté aux applications RF. Le dispositif ne nécessite aucun condensateur de dérivation de bruit supplémentaire pour obtenir des performances de bruit ultra-faible. Pour optimiser les performances des applications portables alimentées par batterie, le NCP705 d'onsemi utilise une gestion dynamique du courant de repos pour une consommation de courant de repos ultra-faible dans des conditions de charge légère et d'excellentes performances dynamiques.Caractéristiques
- Plage de tension d'entrée de fonctionnement de 2,5 V à 5,5 V
- Disponible avec une option de tension fixe de 0,8 V à 3,5 V
- Disponible avec une option de tension réglable de 0,8 V à 5,5 V VDROP
- Tension de référence de 0,8 V
- Courant de repos standard de 13 A
- Bruit ultra-faible de 12 VRMS de 100 Hz à 100 kHz
- Perte de niveau standard ultra-faible de 230 mV à 500 mA
- Précision de ±2 % sur la charge/la ligne/la température
- PSRR élevé de 71 dB à 1 kHz
- Démarrage progressif interne pour limiter le courant d'appel au démarrage
- Protection contre la surchauffe et lalimitation du courant
- Stable avec un condensateur de sortie céramique de 1 µF
- Décharge de sortie active pour une coupure rapide
- Dispositifs sans Pb
Applications
- PDA, téléphones portables, GPS et smartphones
- Téléphones portables sans fil, réseau local sans fil, BLUETOOTH®, ZigBee®
- Équipement médical portable
- Autres applications alimentées par batterie
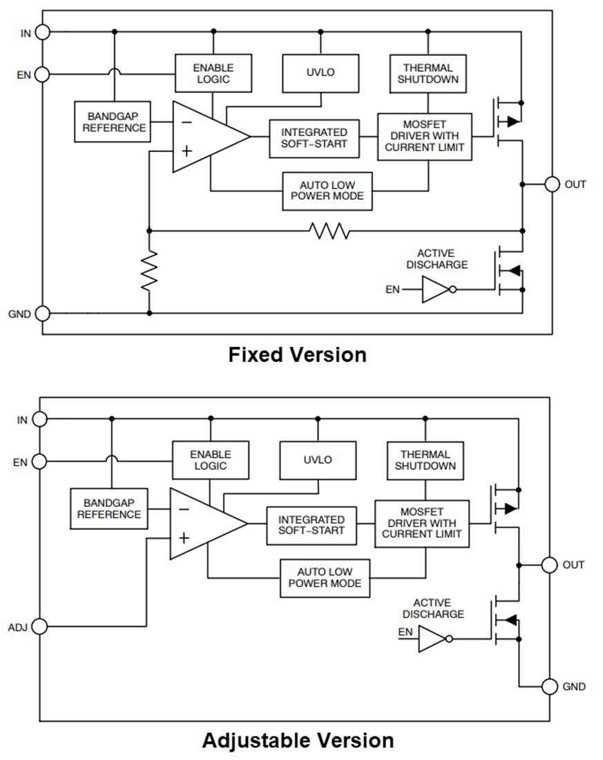
Schéma fonctionnel schéma simplifié
Publié le: 2025-04-21
| Mis à jour le: 2025-05-27
