onsemi Pilote de DEL régulé côté primaire FL7733A
Le pilote de DEL régulé côté primaire FL7733A Fairchild est un contrôleur PWM hautement intégré qui utilise une technique avancée de régulation du côté primaire (PSR) pour minimiser les composants nécessaires pour des convertisseurs d'éclairage DEL de puissance basse à moyenne. Grâce à une technologie innovante TRUECURRENT® fournissant une sortie à courant constant et tolérance étroite, ce pilote DEL permet des conceptions avec une tolérance à courant constant (CC) à moins de ±1 % sur la plage de tension des lignes universelles pour satisfaire les exigences strictes de brillance DEL. En minimisant la fluctuation du temps d'allumage, un haut facteur de puissance et une faible DHT sur la plage de ligne universelle sont obtenus sur le FL7733A. Un circuit de démarrage à haute tension intégré met en œuvre un démarrage rapide et un haut rendement du système. Pendant le démarrage, un contrôle adaptatif de la boucle de rétroaction anticipe la condition d'état stable et établit la condition de rétroaction initiale à proximité de cet état stable pour assurer l'absence de dépassement inférieur et supérieur du courant DEL. Le FL7733A fournit aussi des protections puissantes notamment contre les courts-circuits et les circuits ouverts des DEL, les courts-circuits des diodes de sortie, les courts-circuits et les circuits ouverts des résistances de détection et les sur-températures, d'où une grande fiabilité du système.Caractéristiques
- ±3% total constant current tolerance over all conditions
- ±1% over universal line voltage variation ±1% from 50% to 100% load voltage variation
- ±1% with ±20% magnetizing inductance variation
- Primary-Side Regulation (PSR) control
- 80VAC to 308VAC application input voltage range
- High PF of 0.9, and low THD of 10% over universal line input range
- Fast 200ms start-up (at 85VAC) using internal high-voltage start-up with VDD regulation
- Adaptive feedback loop control for startup without overshoot
- Protection
- LED short / open protection
- Output diode short protection
- Sensing resistor short / open protection
- VDD Over-Voltage Protection (OVP)
- VDD Under-Voltage Lockout (UVLO)
- Over-Temperature Protection (OTP)
- All Protections are Auto Restart (AR)
- Cycle-by-cycle current limit
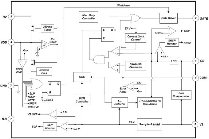
Block Diagram
Application Diagram
Publié le: 2014-10-29
| Mis à jour le: 2022-03-11
