Omron Industrial Automation Sources d’alimentation en mode commutation S8VK-WB
Les alimentations à découpage S8VK-WB Omron Industrial Automation ajoutent des caractéristiques supplémentaires dans un encombrement réduit. Disponible de 240 watts à 960 watts avec des options pour 24 VCC et 48 VCC. La série S8VK-WB ajoute des composants électroniques internes revêtus, des indicateurs d'état visuels sur le panneau avant et une terminaison push-in plus tout en prenant en charge une large plage d'entrée acceptable, notamment une entrée triphasée (3 x 340 à 576 VCA) biphasée (2 x 340 à 576 VCA) et une entrée CC excluant 960 W (450 à 810 VCC). La série fonctionne à une température ambiante de -40°C à +70°C et permet un montage côte à côte. Le S8VK-WB est certifié pour une altitude de 3 000 m et est conforme à la norme SEMI F47-0706.Caractéristiques
- Fonctionne à une température ambiante de -40°C à +70°C
- Montage côte-à-côte possible
- Conforme à la norme SEMI F47-0706
- Certification pour une altitude de 3 000 m
- PCB revêtus pour une meilleure résistance à l'environnement
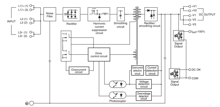
- Équipé d'une sortie de signal qui indique CC OK et l'état de surcharge
Caractéristiques techniques
- Puissance nominale 240 W, 480 W et 960 W
- Tension de sortie 24 V ou 48 V
- Tension d'entrée nominale de 380 V à 480 V
- Courant de sortie nominal de 5 A à 20 A
Schéma fonctionnel
Publié le: 2021-04-01
| Mis à jour le: 2022-03-11
