NXP Semiconductors Mini émetteurs-récepteurs HS-CAN UJA116xA
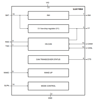
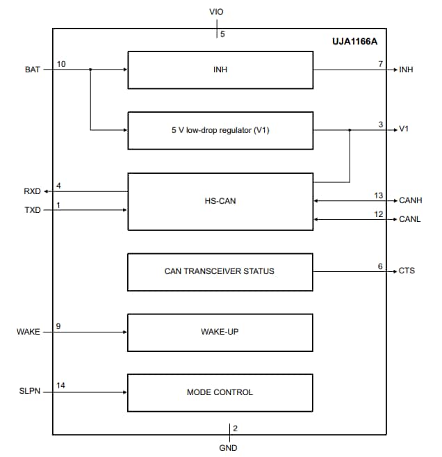
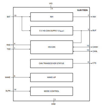
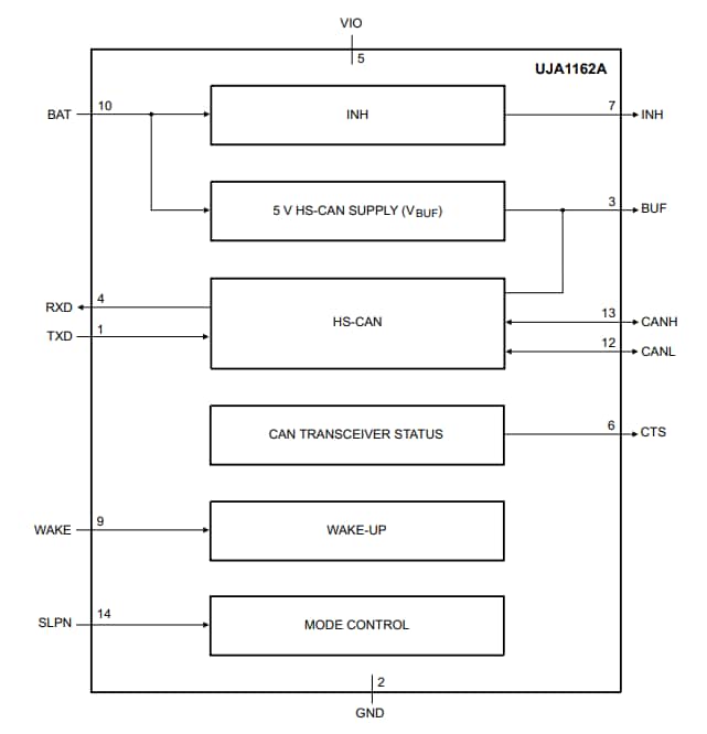
Les mini émetteurs-récepteurs HS-CAN UJA116xA de NXP Semiconductors offrent une solution hautement intégrée avec une interface HS-CAN logée dans un petit boîtier HVSON14 sans fil. Les variantes UJA116xA offrent des options telles qu'une surveillance, une alimentation de capteur externe 5 V en option et une prise en charge partielle du réseau.Les mini émetteurs-récepteurs HS-CAN UJA116xA NXP contiennent un émetteur-récepteur HS-CAN conforme ISO11898-2:2016 et SAE J2284-1 à J2284-5. De plus, ces composants disposent d'une communication active FD pouvant atteindre 5 Mbit/s avec une alimentation régulateur intégrée à faible chute de tension (V1) de 5 V pour un microcontrôleur et d'autres charges jusqu'à 100 mA. Le SBC UJA116xA peut fonctionner en modes veille et sommeil à très faible courant avec des capacités de bus et de réveil local.
Caractéristiques
- ISO 11898-2:2016 et SAE J2284-1 à SAE J2284-5 compatible HS-CAN comprenant une communication active CAN FD jusqu'à 5 Mbit/s
- Prise en charge passive CAN FD et réseau partiel en option
- Polarisation de bus autonome conformément à la norme ISO 11898-6
- Régulateur à faible chute de tension 5 V entièrement intégré avec une capacité de courant de sortie de 100 mA
- Variante d'alimentation de capteur 5 V protégé en option pour une utilisation hors carte
- Mode veille et sommeil avec très faible courant d'alimentation
- Surveillance avec modes de fenêtre, temporisation et autonome et source d'horloge indépendante du microcontrôleur
- Capacité de réveil à distance et local
- Contrôle du mode via l'interface périphérique série (bus SPI)
- Configuration programmable client simple et sécurisée des fonctions sélectionnées via une mémoire non volatile
- Prise en charge de la rétention RAM du microcontrôleur jusqu'à une tension de batterie de 2 V
- Boîtier HVSON14 sans fil (3 mm x 4,5 mm) avec capacité d'inspection optique automatisée (AOI) améliorée et faible résistance thermique
- Compatible matériel et logiciel avec la gamme de produits UJA116x
- Qualifié conformément à la norme AEC-Q100 Rev-G
Applications
- Modules de commande de toit solaire
- Prétensionneurs de siège
- Contrôle de changement de vitesse
- Surveillance de la pression des pneus
- Commande de fenêtre et de porte
- Modules de commande de direction
- Contrôle du climat CVC
Tableau des variantes
View Results ( 11 ) Page
| Numéro de pièce | Fiche technique | Description |
|---|---|---|
| UJA1164ATK/0Z | ![]() |
Circuit intégré d'interface CAN Mini high-speed CAN system basis chip with Standby mode & watchdog |
| UJA1167ATK/0Z | ![]() |
Circuit intégré d'interface CAN Mini high-speed CAN system basis chip with Standby/Sleep modes & watchdog |
| UJA1163ATK/0Z | ![]() |
Circuit intégré d'interface CAN Mini high-speed CAN system basis chip with Standby mode |
| UJA1161ATK/0Z | ![]() |
Circuit intégré d'interface CAN Self-supplied high-speed CAN transceiver with Standby mode |
| UJA1162ATK/0Z | ![]() |
Circuit intégré d'interface CAN Self-supplied high-speed CAN transceiver with Sleep mode |
| UJA1168ATK/0Z | ![]() |
Circuit intégré d'interface CAN Mini high-speed CAN system basis chip for partial networking |
| UJA1166ATK/0Z | ![]() |
Circuit intégré d'interface CAN Self-supplied high-speed CAN transceiver with Sleep mode |
| UJA1167ATK/X/0Z | ![]() |
Circuit intégré d'interface CAN Mini high-speed CAN system basis chip with Standby/Sleep modes & watchdog |
| UJA1168ATK/F/0Z | ![]() |
Circuit intégré d'interface CAN Mini high-speed CAN system basis chip for partial networking |
| UJA1168ATK/X/0Z | ![]() |
Circuit intégré d'interface CAN Mini high-speed CAN system basis chip for partial networking |
Publié le: 2021-06-21
| Mis à jour le: 2022-03-11

