NXP Semiconductors Émetteur-récepteur bus LIN double TJA1022
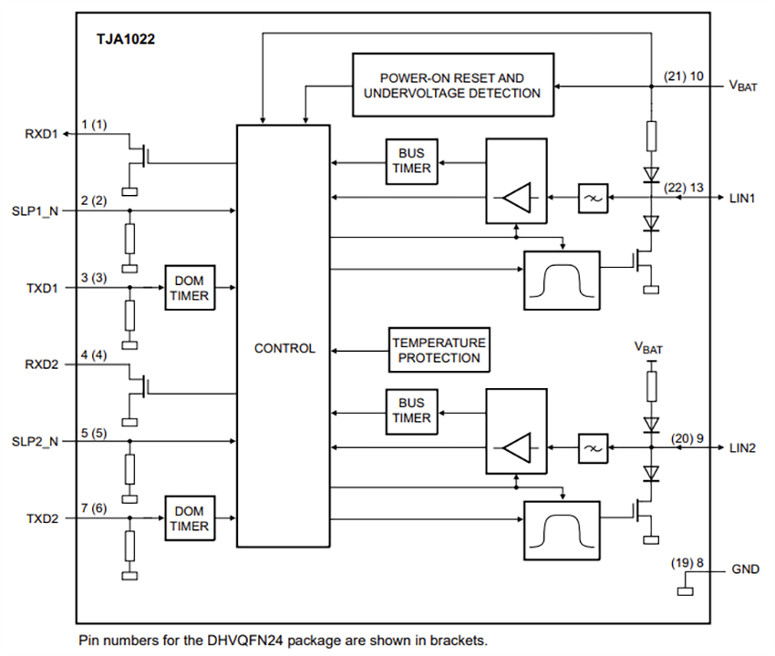
L'émetteur-récepteur bus LIN double TJA1022 de NXP Semiconductors fournit l'interface entre un contrôleur de protocole maître/esclave LIN (réseau local d'interconnexion) et le bus physique dans un réseau LIN. Les émetteurs-récepteurs TJA1022 sont principalement destinés aux sous-réseaux embarqués utilisant des débits en bauds atteignant 20 kBd et sont conformes aux normes LIN 2.0, LIN 2.1, LIN 2.2, LIN 2.2A, ISO 17987-4:2016 (LIN 12 V) et SAE J2602. Les TJA1022T et TJA1022TK (boîtiers SO14/HVSON14) sont des broches compatibles avec les TJA1020, TJA1021, TJA1027 et TJA1029. TJA1022HG (boîtier DHVQFN24) est compatible avec la broche TJA1024. Les TJA1022, TJA1024, TJA1027 et TJA1029 sont compatibles logiciel.L'émetteur-récepteur TJA1022 de NXP convertit les données transmises par le contrôleur de protocole en signaux de bus LIN optimisés conçus pour réduire les émissions électromagnétiques (EME). Les broches de sortie LIN sont tirées en interne vers le haut à l'aide de résistances de terminaison. Pour les configurations de nœud maître, une résistance externe et une diode doivent être connectées entre la broche VBAT et chaque broche LIN. Les données entrantes sur le bus LIN sont détectées par les récepteurs et transmises au microcontrôleur via les broches RXD1 et RXD2. La consommation d'énergie est très faible lorsque les émetteurs-récepteurs sont en mode veille. Cependant, le TJA1022 peut toujours être réveillé via les broches LIN1/LIN2 et SLP1_N/SLP2_N.
Caractéristiques
- 2 émetteur-récepteur bus LIN dans un seul boîtier
- Conforme aux normes LIN 2.0, LIN 2.1, LIN 2.2, LIN 2.2A, ISO 17987-4:2016 (LIN 12 V) et SAE J2602
- Jusqu'à 20 kBd de débit de baude
- Très faibles émissions électromagnétiques (EME)
- Faible consommation de courant en mode veille avec réveil LIN à distance
- Niveaux d'entrée compatible avec les dispositifs 3,3 V et 5 V
- Résistances de terminaison intégrées pour les applications LIN esclaves
- Comportement passif dans l'état sans alimentation
- Opérationnel pendant les impulsions de démarrage - exploitation complète à partir de 5 V
- Détection de sous-tension
- Compatible avec la ligne K
- Les variantes à 14 broches sont compatibles avec TJA1020, TJA1021, TJA1027 et TJA1029
- La variante à 24 broches est un sous-ensemble compatible avec les broches du TJA1024
- TJA1024, le TJA1027 et le TJA1029 compatibles logiciel
- Protection
- Immunité électromagnétique (EMI) très élevée
- Robustesse très élevée DES - ±8 kV selon IEC 61000-4-2 pour les broches LIN1, LIN2 et VBAT
- Borne de bus et broche de batterie / pile protégées contre les transitoires dans l'environnement automobile (ISO 7637)
- Borne de bus résistante aux courts-circuits vers la batterie et la terre
- Protégé thermiquement
- Vérification initiale de l'état dominant TXD lors de la commutation vers le mode Normal
- Fonction de temporisation de l'état dominant TXD
- Options de boîtier
- Boîtier en plastique SO14, largeur de corps de 3,9 mm
- Plastique, HVSON14 (3,0 mm x 4,5 mm x 0,85 mm) sans plomb avec capacité d'inspection optique automatisée (AOI) améliorée
- Plastique, DHVQFN24 (3,5 mm x 5,5 mm x 0,85 mm) double rangée, sans plomb avec capacité d'inspection optique automatisée (AOI) améliorée
- Sans halogène et Conforme à la directive RoHS
Applications
- Électronique de carrosserie
- Lève-vitres
- Modules de porte
- Contrôleurs de siège
- Systèmes de toits ouvrants
- Contrôle de l'éclairage intérieur
- Systèmes de contrôle du climat
- Modules HVAC (chauffage, ventilation et climatisation)
- Unité de contrôle des ventilateurs et des volets
- Infodivertissement et confort
- Commandes de volant
- Systèmes de réglage des rétroviseurs
- Éclairage d'ambiance
- Interfaces capteur et actionneur
- Capteurs de pluie/lumière
- Capteurs de température
- Pilotes de moteur
Caractéristiques techniques
- Gamme de tension d'alimentation de la batterie
- Valeurs limites de -0,3 V à +42 V
- Fonctionnement de 5 V à 18 V
- Gamme de courant d'alimentation de la batterie
- De 2,5 µA à 10 µA aux modes veille et attente
- De 300 µA à 3 200 µA en mode normal
- Tension de ±42 V sur la broche LIN
- Plage de résistance esclave de 20 kΩ à 60 kΩ
- Capacité maximale de 20 pF sur la broche LIN
- Résistance thermique de jonction à l'environnement
- 145 K/W pour le boîtier SO14
- 50 K/W pour le boîtier HVSON14
- 42,7 K/W pour le boîtier DHVQFN24
- Température de jonction virtuelle de -40 °C à +150 °C
- Plage de température de jonction d'arrêt de +150 °C à +200 °C
Schéma fonctionnel
Schéma du circuit d'application
