NXP Semiconductors PTN3460I DisplayPort to LVDS Bridge

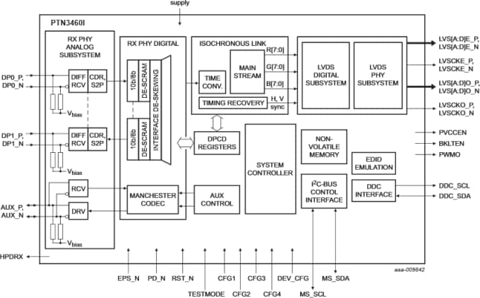
NXP PTN3460I DisplayPort to LVDS bridge enables connectivity between an (embedded) DisplayPort (eDP) source and an LVDS display panel. It processes the incoming DisplayPort (DP) stream, performs DP to LVDS protocol conversion, and transmits processed stream in LVDS format.

The NXP PTN3460I has two high-speed ports: Receive port facing DP Source (for example, CPU/GPU/chipset) and a Transmit port facing the LVDS receiver (for example, LVDS display panel controller). The PTN3460I can receive DP stream at link rate 1.62Gbit/s or 2.7Gbit/s, and it can support 1-lane or 2-lane DP operation. It interacts with DP source via DP Auxiliary (AUX) channel transactions for DP link training and setup. It supports single bus or dual bus LVDS signaling with color depths of 18-bits per pixel or 24-bits per pixel and pixel clock frequency up to 112MHz.

The LVDS data packing can be done either in VESA or JEIDA format. Also, the DP AUX interface transports I2C-over-AUX commands and supports EDID-DDC communication with the LVDS panel. To support panels without EDID ROM, the PTN3460I can emulate EDID ROM behavior avoiding specific changes in system video BIOS.

Features

  • Embedded microcontroller and on-chip Non-Volatile Memory (NVM) allow for flexibility in firmware updates
  • LVDS panel power-up (/down) sequencing control
  • Firmware controlled panel power-up (/down) sequence timing parameters
  • No external timing reference needed
  • EDID ROM emulation to support panels with no EDID ROM
  • Emulation ON/OFF is set via configuration pin CFG4
  • Supports EDID structure v1.3
  • On-chip EDID emulation up to seven different EDID data structures
  • eDP complying PWM signal generation or PWM signal pass-through from eDP source

Applications

  • Industrial PC design
  • Printer display
  • Automotive dashboard display
  • All in one platforms
  • Notebook platforms
  • Netbooks/net tops

Block Diagram

Block Diagram - NXP Semiconductors PTN3460I DisplayPort to LVDS Bridge
Publié le: 2015-06-04 | Mis à jour le: 2022-03-11