NXP Semiconductors Mini horloge/calendrier en temps réel PCF85263A
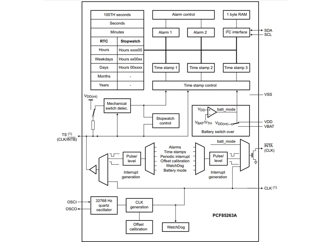
La mini horloge/calendrier en temps réel PCF85263A NXP est une horloge temps réel CMOS (HTR) et un calendrier optimisé pour une faible consommation énergétique et avec un basculement automatique sur pile en cas de perte de l'alimentation principale. La RTC peut également être configurée comme un chronomètre (compteur de temps écoulé). Trois registres temporels déclenchés par le passage sur batterie comme par des événements pilotés par entrées. Dotée d'une sortie horloge et de deux signaux d'interruption indépendants, de deux alarmes, d'une interface 2C et d'un étalonnage au cristal de quartz. Les applications types sont notamment les imprimantes, copieurs, comptage électronique, appareils photo numériques, l'électroménager, les compteurs de temps écoulé, composants alimentés par réseau, systèmes sur batteries de secours, enregistreurs de données, magnétophones numériques, équipements mobiles et les minuteries longue durée précises.Caractéristiques
- UL Recognized Component
- Provides year, month, day, weekday, hours, minutes, seconds and 100th seconds based on a 32.768kHz quartz crystal
- Stop-watch mode for elapsed time counting. From 100th seconds to 999999 hours
- Two independent alarms
- Battery back-up circuit
- WatchDog timer
- Three timestamp registers
- Two independent interrupt generators plus predefined interrupts at every second, minute, or hour
- Frequency adjustment via programmable offset register
- Clock operating voltage: 0.9V to 5.5V
- Low current; typical 0.28µA at VDD = 3.0V and Tamb = 25ºC
- 400kHz two-line I2C-bus interface (at VDD = 1.8V to 5.5V)
- Programmable clock output for peripheral devices (32.768kHz, 16.384kHz, 8.192kHz, 4.096kHz, 2.048kHz, 1.024kHz, and 1Hz)
- Configurable oscillator circuit for a wide variety of quartzes: CL = 6pF, CL = 7pF, and CL = 12.5pF
- DFN-10, TSSOP-8, and TSSOP-10 package options
Applications
- Printers and copiers
- Electronic metering
- Digital cameras
- White goods
- Elapsed time counter
- Network powered devices
- Battery backed up systems
- Data loggers
- Digital voice recorders
- Mobile equipment
- Accurate high duration timer
Typical Application Circuit
Block Diagram
Publié le: 2014-10-20
| Mis à jour le: 2024-01-04
