NXP Semiconductors Pilote LCD automobile 32 x 4 PCA85262
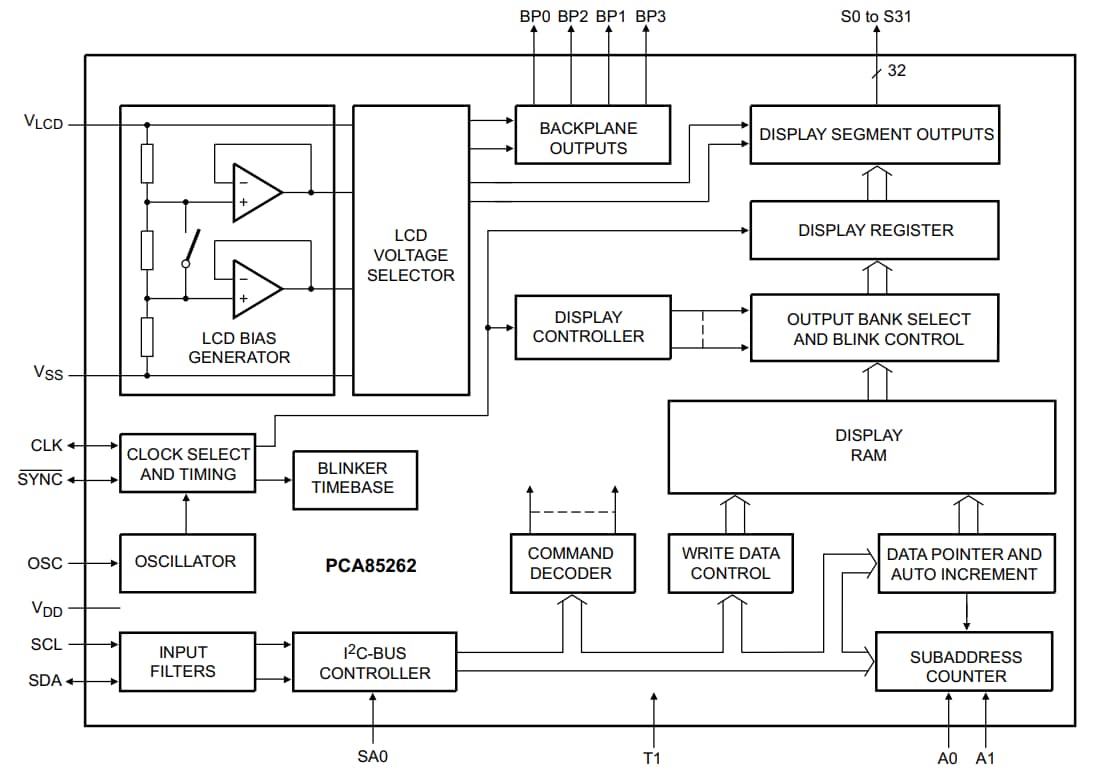
Le pilote LCD automobile 32 x 4 PCA85262 de NXP est un périphérique qui réalise l’interface avec pratiquement tous les écrans à cristaux liquides (LCD) avec des taux multiplex faibles. Il génère les signaux d'entraînement pour tous les LCD statiques ou multiplexés contenant jusqu'à quatre fonds de panier et jusqu'à 32 segments. Il peut facilement être mis en cascade pour les applications LCD de grande taille. Le PCA85262 est compatible avec la plupart des microcontrôleurs et communique via le bus I2C bidirectionnel à ligne double. Le temps système de communication est réduit au moyen d'une RAM d'affichage avec adressage auto-incrémenté, d'un sous-adressage matériel et d'une commutation de mémoire d'affichage (modes de pilotage statique et duplex).Caractéristiques
- AEC-Q100 grade 2 compliant for automotive applications
- Single-chip LCD controller and driver
- Selectable backplane drive configuration (static, 2, 3, or 4 backplane multiplexing)
- Selectable display bias configuration (static, 1/2, or 1/3)
- Internal LCD bias generation with voltage-follower buffers
- 32 segment drives
- Up to 16 7-segment numeric characters
- Up to 8 14-segment alphanumeric characters
- Any graphics of up to 128 elements
- 32x4-bit RAM for display data storage
- Display memory bank switching in static and duplex drive modes
- Versatile blinking modes
- Independent supplies possible for LCD and logic voltages
- 1.8V to 5.5V wide power supply range
- Wide logic LCD supply range
- From 2.5V for low-threshold LCDs
- Up to 8.0V for guest-host LCDs and high-threshold twisted nematic LCDs
- Low power consumption
- Extended temperature range up to 105°C
- 400kHz I2C-bus interface
- No external components required
- Manufactured in silicon gate CMOS process
Block Diagram
Publié le: 2015-04-28
| Mis à jour le: 2022-03-11
