NXP Semiconductors Horloge temps réel (RTC) CMOS de nano-puissance PCA2131 - NXP Semiconductors | Mouser
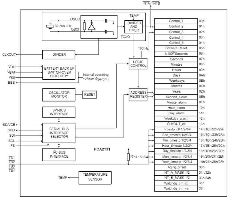
L'horloge temps réel (RTC) CMOS de nano-puissance PCA2131 de NXP Semiconductors est composée d'une RTC et d'un calendrier avec un oscillateur à quartz (Xtal) compensé en température sur puce (TCXO) et un quartz de 32,768 kHz intégrés dans le même boîtier. La PCA2131 compatible AEC-Q100 est optimisée pour une très haute précision et une consommation d'énergie ultra-faible. Les adresses et les données sont transférées via un bus I2C à mode rapide sélectionnable de 400 kHz ou via un bus SPI à 4 lignes (vitesse maximale de 6,5 Mbit/s) avec entrée et sortie de données séparées.La RTC PCA2131 possède une broche d'entrée pour la batterie de secours et un circuit de commutation de batterie de secours qui surveille l'alimentation principale. Le circuit bascule automatiquement sur la batterie de secours lorsqu'une panne de courant est détectée, ce qui permet de conserver une heure précise même lorsque l'alimentation électrique principale est interrompue. Un circuit de détection de batterie faible surveille l'état de la batterie. Lorsque la tension de la batterie passe en dessous d'une certaine valeur de seuil, un témoin indique que la batterie doit être bientôt remplacée Cela garantit l'intégrité des données pendant les périodes de sauvegarde sur batterie. Les autres caractéristiques incluent une fonction watchdog programmable, quatre fonctions d'horodatage, et de nombreuses autres fonctionnalités.
Caractéristiques
- Conforme AEC-Q100
- Plage de température de fonctionnement de -40 °C à +105 °C
- Oscillateur à cristaux à température compensée (TCXO) avec condensateurs intégrés ajustables
- Horloge opérationnelle jusqu'à +125 °C
- Courant d'alimentation standard ultra-faible de 106 nA sous VDD = 3,3 V
- RTC compensée en température, précision standard
- ±3 ppm de -40 °C à +85 °C
- ±8 ppm de +85 °C à +105 °C
- Intègre un cristal de quartz 32,768 kHz et un oscillateur dans le même boîtier
- Fournit l'année, le mois, le jour, la semaine, les heures, les minutes, les secondes et 1/100 secondes
- Fournit une correction d'année bissextile
- Fonction horodatage
- Avec capacité d'interruption
- Détection de quatre événements différents sur quatre entrée PINS (par exemple, pour l'autoprotection détection)
- Interface de bus I2C bidirectionnelle à 2 lignes, mode rapide de 400 kHz
- Bus SPI à 4 lignes avec entrée et sortie de données séparées (vitesse maximale de 6,5 Mbit/s)
- Broche d'entrée de batterie de secours et circuit de commutation
- Tension de sortie soutenue par batterie
- Fonction de détection de batterie faible
- Réinitialisation à l'allumage (POR)
- Fonction de remplacement de réinitialisation à l'allumage (PORO)
- Fonction de réinitialisation du logiciel
- Deux sorties d'interruption (drain ouvert)
- Interruption programmable 1 seconde ou 1 minute
- Minuteur watchdog programmable avec interruption
- Fonction d'alarme programmable avec capacité d'interruption
- Sortie carrée programmable
- Tension d'exploitation de l'horloge de 1,2 V à 5,5 V
- Boîtier HLSON16
- Corps de 4,5 mm x 3,5 mm x 1,45 mm corps, pas de 0,5 mm
- Flanc mouillable à encoche 0,125
- Profil mince amélioré thermiquement, à faible encombrement, sans broches
Applications
- Compteurs électroniques pour l'électricité, l'eau et le gaz
- Chronométrage de précision
- Accès à une heure précise de la journée
- Équipement GPS pour réduire le temps de première fixation
- Applications nécessitant un minutage précis du processus
- Produits avec longue durée de fonctionnement automatisé sans surveillance
- Automobile
- Calcul de haute performance automobile
- Radios connectées
- Clusters numériquee
- Accès voiture intelligente
- Communications V2X
Vidéos
Schémas fonctionnels
