Nuvoton NuMicro® M0A21/M0A23 32-bit Microcontrollers
Nuvoton NuMicro® M0A21/M0A23 32-bit Microcontrollers are based on the Arm® Cortex®-M0 core with a highly flexible digital pin function assignment in a compact package. The M0A21/M0A23 features a 40°C to 125°C operating temperature, 2.4V to 5.5V voltage, CAN 2.0B, and LIN interface for powerful communication. The MCUs target rugged and high operating temperature applications, such as 24GHz mmWave radar, Battery Management Systems (BMS), car lighting, electric window lifters, and power seats.The Nuvoton M0A21/M0A23 supplies rich analog functions, including a 17-ch 12-bit 800kSPS ADC, one set of 5-bit DACs, and two sets of ACMPs in both the SSOP-20 and TSSOP-28 packages. Furthermore, it delivers a Low-Voltage Reset (LVR) and a Brown-Out Detector (BOD) to ensure system safety.
The M0A21/M0A23 runs up to 48MHz and supports a hardware divider. It equips 32Kbyte Flash memory, 4Kbyte SRAM, and 2Kbyte LDROM for ISP (In-System Programming) features for an easy firmware update. It is equipped with plenty of peripherals, including up to four 32-bit timers, 6-ch 16-bit PWM generators, 1 set of CAN 2.0B controller, two sets of LIN functions, 5-ch PDMA, two sets of UART with One-Wire mode, IrDA and RS485 functions. Additionally, the devices have two sets of Universal Serial Control Interfaces (USCI) that can be configured as UART, SPI, or I2C.
The M0A21/M0A23 is available in an SSOP-20 (5.3mm x 7.2mm x 1.75mm) and TSSOP-28 (4.4mm x 9.7mm x 1.0mm) package with rich analog and digital functions, especially suited for small-form-factor applications. The SSOP-20 provides up to 18 IO pins, and the TSSOP-28 supplies up to 26 IO pins. Each IO pin of the M0A21/M0A23 can be arbitrarily designated to digital peripherals, such as UART, SPI, and PWM.
Key Features Table
Features
- Arm Cortex-M0 processor, running up to 48MHz
- Built-in Nested Vectored Interrupt Controller (NVIC)
- 24-bit system tick timer
- Programmable and maskable interrupt
- Low power sleep mode by WFI and WFE instructions
- Four-level BOD with brown-out interrupt and reset option (4.4V/3.7V/2.7V/2.3V)
- Low Voltage Reset (LVR) with 2.22V threshold voltage level
- Signed (two’s complement) integer calculation
- Security
- 96-bit Unique ID (UID)
- 128-bit Unique Customer ID (UCID)
- One built-in temperature sensor
- 32-bit dividend with 16-bit divisor calculation capacity
- 32-bit quotient and 32-bit remainder outputs (16-bit remainder with sign extends to 32-bit)
- 6-HCLK clocks taken for one cycle calculation
Applications
- 24GHz mmWave radar
- BMS (Battery Management System)
- Industrial control
- Car lighting
- Car windows
- Power seat
Series Selection Guide
Block Diagram
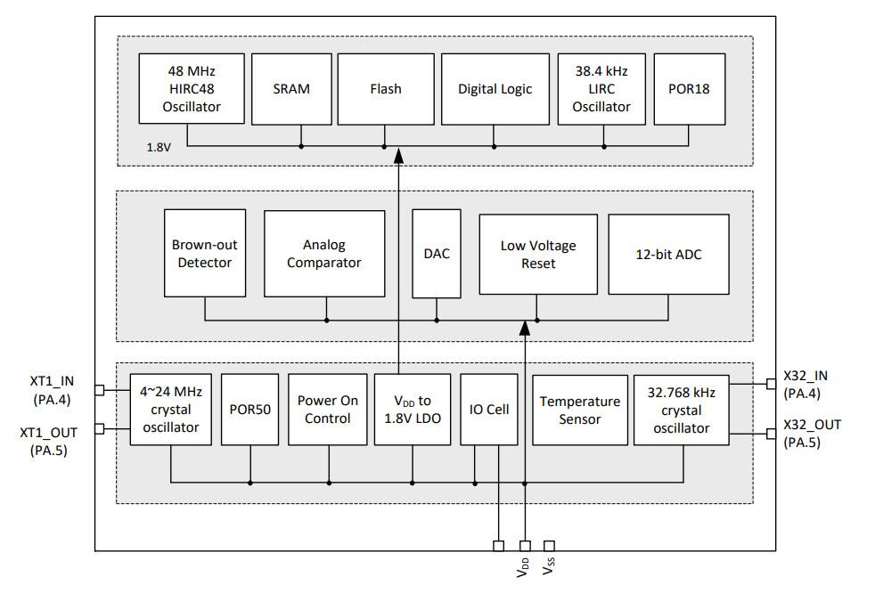
Power Distribution Diagram
