Nexperia NCA9555PW 16 bits I2C et extensions E/S SMBus
Les extenseurs d'E/S SMBus et I2C 16 bits NCA9555PW de Nexperia sont une solution efficace pour étendre les capacités GPIO (entrée/sortie à usage général) des applications à bus I2C/SMBus. Les dispositifs NCA9555PW de Nexperia ont une large plage de tension d'exploitation de 1,65 V à 5,5 V. Le NCA9555 est conçu pour répondre aux besoins de divers dispositifs, notamment les résistances d'interruption et de pull-up. Ces composants comprennent des commutateurs d'alimentation ACPI, des capteurs, des boutons-poussoirs, des LED et des systèmes de contrôle de ventilateur. Le NCA9555 dispose de registres d'inversion d'entrée, de sortie, de configuration et de polarité 8 bits, avec toutes les E/S étant par défaut définies sur les entrées lors de la mise sous tension. Les options de configuration flexibles du composant permettent de définir chaque E/S comme une entrée ou une sortie, ce qui en fait un choix idéal pour ajouter des E/S supplémentaires avec un minimum d'interconnexions.Caractéristiques
- Extenseurs de port parallèle vers bus I2C
- Plage de tension d'alimentation électrique de 1,65 V à 5,5 V
- Faible consommation de courant en veille
- 2,5 µA (maximum)
- La bascule de Schmitt permet une transition d'entrée lente et une meilleure immunité au bruit de commutation aux entrées SCL et SDA
- Vhys = 0,10 × VCC (standard)
- Filtre de bruit sur les entrées SCL et SDA
- E/S tolérantes à 5 V
- 16 broches d'E/S étant par défaut définies comme 16 entrées
- Sortie d’interruption (INT) à drain ouvert, active à l’état bas
- Bus I2C en mode rapide 400 kHz
- Réinitialisation interne de l'alimentation
- Démarrage avec touts les canaux configurés comme des entrées avec de faibles résistances de pull-up
- Pas de régime transitoire lors du démarrage
- Sorties verrouillées avec capacité de commande maximum de 25 mA pour pilotage direct des LED
- La performance de verrouillage dépasse 100 mA selon JESD78, classe II
- Protection DES
- HBM : ANSI/ESDA/JEDEC JS-001 classe 2 dépasse 2 000 V
- CDM : ANSI/ESDA/JEDEC JS-002 classe C3 dépasse 1 000 V
- Spécifié de -40 °C à +85 °C
Applications
- Commutateurs d'alimentation ACPI
- Capteurs
- Boutons-poussoirs
- LED
- Systèmes de contrôle de ventilateur
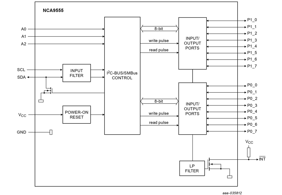
Schéma fonctionnel
Publié le: 2023-02-07
| Mis à jour le: 2025-08-20
