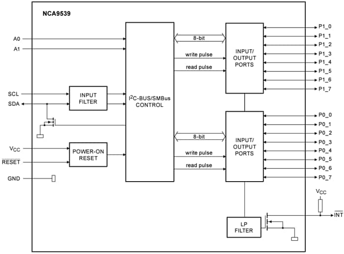
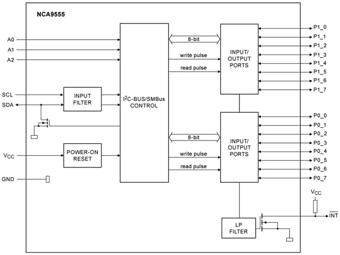
Nexperia Extensions GPIO I2C NCA95xx
Les extenseurs GPIO (E/S à usage général) I2C NCA95xx de Nexperia offrent une solution élégante lorsque des E/S supplémentaires sont nécessaires, tout en gardant les interconnexions au minimum. Disponibles dans les packages TSSOP24 et HWQFN24, ces extenseurs GPIO disposent de plusieurs fonctionnalités telles que les interruptions, la réinitialisation matériel, les résistances pull-up internes et les pull-ups configurables. Ces extensions GPIO NCA95xx de Nexperia bénéficient d'avantages tels qu'une consommation d'énergie statique extrêmement faible et une complexité réduite de conception du PCB grâce à la réduction de trace et à la simplification du routage, réduisant ainsi le coût de la nomenclature (BOM).Caractéristiques
- Extension GPIO à alimentation unique prenant en charge une plage de tension d'alimentation de fonctionnement de 1,65VV à 5,5VV
- Conversion série-parallèle (SDA vers P0-P16) et parallèle-série (P0-P16) avec protocole I2C
- La bascule de Schmitt permet une transition d'entrée lente et une meilleure immunité au bruit de commutation aux entrées SCL et SDA
- Faible puissance de consommation de 2,5VµA maximum
- Fonctionnement à 400 kHz (mode I2C FM)
- Mise sous tension sans perturbation avec tous les canaux configurés comme des entrées avec des résistances d'élévation faibles
- E/S tolérantes à 5 V et 16 broches E/S, qui sont par défaut à 16 entrées
- Sorties verrouillées avec capacité de commande maximum de 25 mA pour pilotage direct des LED
- Registre d'inversion de polarité
- Broche de réinitialisation externe pour réinitialiser la machine à états et les registres internes
- Filtres de bruit sur les entrées SCL et SDA
- Boîtiers TSSOP24 et HWQFN24
- Plages de températures : -40 °C à +85 °C et de -40 °C à +125 °C
Applications
- Serveurs et routeurs
- Moniteurs de contrôle de téléviseur et de matériel
- Consoles de jeu et drones
- Applications alimentées par batterie
- Applications automobiles (ADAS, VCU, DCU et BCM)
- Caméras de surveillance
- Équipement de télécom
Ressources supplémentaires
View Results ( 8 ) Page
| Numéro de pièce | Fiche technique | Package/Boîte | Fréquence de l'horloge max. | Nombre d'E/S |
|---|---|---|---|---|
| NCA9539BYHP | ![]() |
HWQFN-24 | ||
| NCA9555BY-Q100HP | ![]() |
HWQFN-24 | 100 kHz, 400 kHz | 16 I/O |
| NCA9535PWJ | ![]() |
TSSOP-24 | 400 kHz | 16 I/O |
| NCA9539PW-Q100J | ![]() |
TSSOP-24 | 400 kHz | 16 I/O |
| NCA9539PWJ | ![]() |
TSSOP-24 | 400 kHz | 16 I/O |
| NCA9535BY-Q100HP | ![]() |
HWQFN-24 | ||
| NCA9555BYHP | ![]() |
HWQFN-24 | 100 kHz, 400 kHz | 16 I/O |
| NCA9535PW-Q100J | ![]() |
TSSOP-24 | 400 kHz | 16 I/O |
Publié le: 2023-05-11
| Mis à jour le: 2025-04-17

