Microchip Technology Contrôleurs et commutateurs d'alimentation USB UCS2113-C
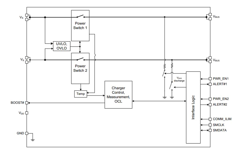
Les contrôleurs et commutateurs d'alimentation USB double port UCS2113-C de Microchip Technology fournissent un courant continu de 3 A par port VBUS avec limitation précise des surintensités (OCL). L'UCS2113-C dispose également d'une activation de commutateur d'alimentation de port, d'une gestion des défaillances à récupération automatique, d'un verrouillage de sous-tension et de surtension, d'une protection contre la rétro-alimentation et la rétro-tension et d'une protection thermique.Les contrôleurs et commutateurs d'alimentation USB double port UCS2113-C de Microchip sont idéaux pour les applications autonomes et les applications avec communications SMBus/I2C. Pour les applications SMBus, l'UCS2113-C fournit une surveillance du courant par port et trois limites de courant programmables par commutateur, allant de 3,5 A à 5,2 A. Un rationnement de charge par port est également fourni, allant de 3,8 mAh à 246,3 Ah. L'UCS2113-C en mode autonome prend en charge trois limites de courant pour les deux commutateurs, allant de 3,5 A + 3,5 A à 5,2 A + 5,2 A. Les deux commutateurs d'alimentation incluent une fonction de décharge VBUS indépendante.
Le contrôleur et commutateur d'alimentation double port UCS2113-C est disponibles dans un boîtier QFN 4x4 mm 20 broches.
Caractéristiques
- Commutateurs d'alimentation à double port :
- Plage de tension source de 2,9 V à 5,5 V
- Courant continu de 3 A par port VBUS avec une résistance de 40 mΩ par commutateur
- Broches d'activation de commutateur d'alimentation de port indépendant
- Broches de sortie de drain actives DUAL Fault ALERT#
- Comportement de limitation de courant en mode déclenchement
- Verrouillage de sous-tension et de surtension
- Protection contre rétro-alimentation et la rétro-tension
- Gestion des défauts à récupération automatique avec un faible courant de test
- Sortie logique BOOST# pour augmenter la sortie du convertisseur CC-CC dans des conditions de charge importante
- Caractéristiques du mode SMBus 2.0/I2C :
- Trois limites de courant programmables attribuables à chaque commutateur d'alimentation
- Autres adresses SMBus disponibles sur demande
- Lecture et écriture de blocs
- Surveillance de courant autonome (aucune résistance de détection externe requise)
- Rationnement et comportements de charge par port entièrement programmables
- Fonction de décharge automatique duBUS V
- Température de fonctionnement de -40 °C à +105 °C
- Passe les tests de fiabilité automobile AEC-Q100
Schéma de principe
