Microchip Technology Microcontrôleurs 28/40/44/48 broches PIC18-Q71
Les microcontrôleurs PIC18-Q71 28/40/44/48 broches de Microchip Technology sont conçus pour les applications de capteurs et de signaux mixtes à large bande passante. Les microcontrôleurs (MCU) PIC18-Q71 sont une solution idéale pour l'éclairage, le contrôle de moteur et les segments du marché médical.Les microcontrôleurs (MCU) PIC18-Q71 de Microchip à orientation analogique intègrent un CAN différentiel 12 bits avec calcul et commutation de contexte, deux amplificateurs opérationnels, un convertisseur numérique-analogique (CNA) 10 bits et deux modules CNA 8 bits avec sorties tamponnées et connexions internes à d'autres périphériques et deux comparateurs analogiques haute vitesse avancés. De plus, les composants disposent du gestionnaire de périphériques analogiques pour gérer les périphériques analogiques dans le but d'optimiser la consommation d'énergie.
Les microcontrôleurs PIC18-Q71 offrent le module de port virtuel 8 bits pour interconnecter des périphériques numériques sans utiliser de broches externes.
Caractéristiques
- Architecture RISC optimisée pour le compilateur C
- Pile matérielle profonde de 128 niveaux
- Quatre contrôleurs d'accès direct à la mémoire (DMA) :
- Transferts de données vers les espaces SFR/GPR depuis la mémoire flash du programme, l'EEPROM de données ou les espaces SFR/GPR
- Tailles de source et de destination programmables par l'utilisateur
- Transferts de données déclenchés par le matériel et le logiciel
- Capacité d'interruption vectorielle :
- Priorité haute/basse sélectionnable
- Latence d'interruption fixe de trois cycles d'instructions
- Adresse de base de table vectorielle programmable
- Rétrocompatible avec les capacités d'interruption précédentes
- Vitesse de fonctionnement :
- Entrée d'horloge de CC à 64 MHz
- Cycle d'instruction minimum de 62,5 ns
- Réinitialisation à la mise sous tension à faible courant (POR)
- Temporisateur de mise sous tension configurable (PWRT)
- Réinitialisation en cas de baisse de tension (BOR)
- Option BOR basse consommation (LPBOR)
- Minuteur de chien de garde fenêtré (WWDT) :
- Réinitialisation du watchdog sur des intervalles trop longs ou trop courts entre les événements d'effacement du watchdog
- Sélection variable du prédiviseur
- Sélection de taille de fenêtre variable
Applications
- Capteurs analogiques et numériques dans les nœuds de bord à signal mixte et les applications à puce unique
- Éclairage
- Commande de moteurs
- Médical
- Domotique
- Automobile
- IoT (Internet des objets)
Ressources supplémentaires
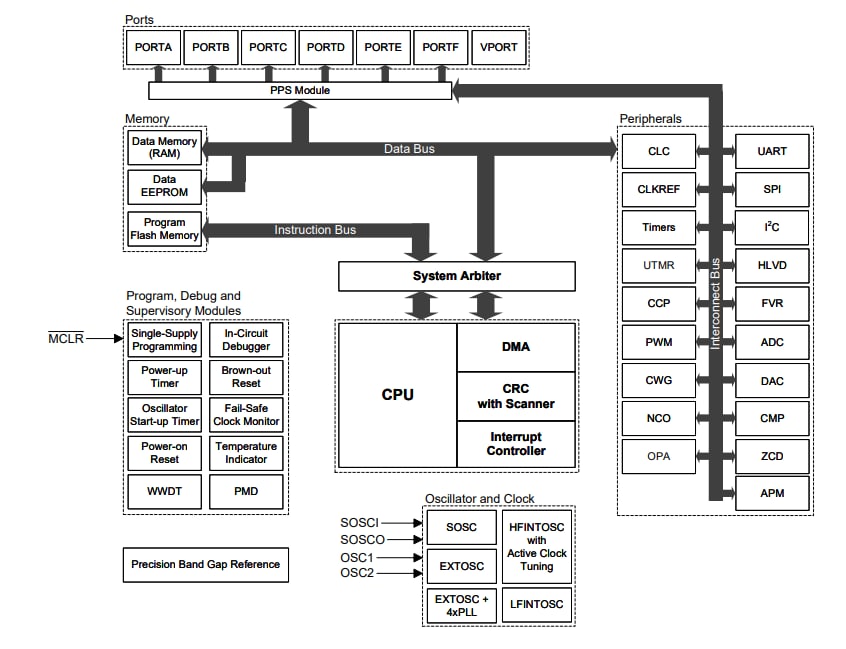
Schéma fonctionnel
Vidéos
Publié le: 2023-03-01
| Mis à jour le: 2024-11-06
