Microchip Technology Microcontrôleurs 8 bits 16LF1554/1559
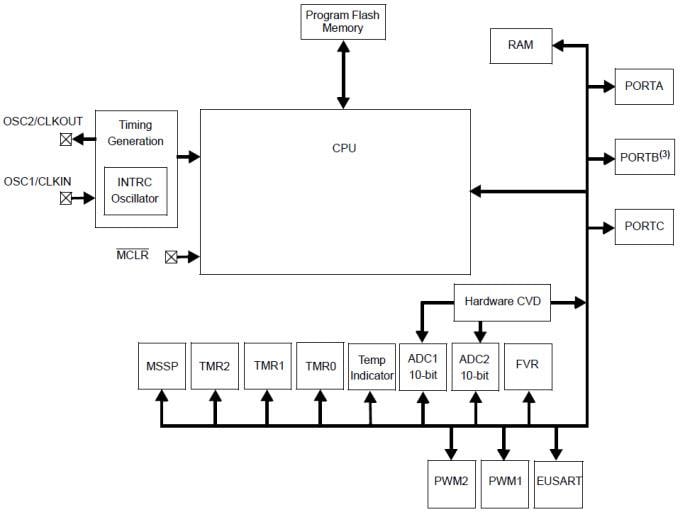
Les microcontrôleurs Microchip PIC16LF1554/1559 8 bits sont des microcontrôleurs optimisés à cœur de milieu de gamme qui fournissent des caractéristiques sur puce uniques pour la conception de solutions mTouch™ et d'applications à portée générale dans des boîtiers à 14/20 broches. Ces MCU sont proposés avec 17 voies analogiques connectées à deux CAN 10 bits avec modules CVD matériels automatisés, deux PWM et plusieurs périphériques de communication offrent une excellente solution pour mettre en œuvre des systèmes de capteur capacitif et autres applications d'échantillonnage frontal avec des coûts logiciels minimaux.Caractéristiques
- Dual Analog to 10-bit Digital Converter (ADC)
- 12 (PIC16LF1554) or 17 (PIC16LF1559) Channel 10-bit ADC
- Advanced Controls for mTouch CVD (Capacitive Voltage Divider)
- Voltage Reference
- MI2C, SPI, UART
- 2 PWMs (PIC16LF1554 only)
- 25mA Source/Sink current I/O
- 32MHz internal oscillator
- Low Power Brown Out Reset (LPBOR)
- Extended Watchdog Timer (WDT)
- In-Circuit Debug
- Operating Voltage 1.8V - 3.6V
Applications
- mTouch solutions
- General purpose HMI applications
Documents
Block Diagram
Publié le: 2014-10-02
| Mis à jour le: 2022-03-11
