Microchip Technology Microcontrôleurs PIC16F17154/55/74/75
Les microcontrôleurs PIC16F17154/55/74/75 de Microchip Technology disposent de périphériques analogiques pour les applications de capteurs de précision. Les microcontrôleurs PIC16F17154/55/74/75 de Microchip Technology sont disponibles en boîtiers de 8 à 44 broches avec des tailles de mémoire allant de 7 ko à 28 ko et des vitesses pouvant atteindre 32 MHz. Les MCU comprennent un amplificateur opérationnel à faible bruit, un CAN différentiel 12 bits avec calcul, deux CNA 8 bits, un PWM 16 bits et des périphériques de contrôle et de communication supplémentaires de la forme d’onde. Ce composant compact et riche en fonctionnalités est idéal pour les applications de capteurs analogiques économiques et économes en énergie nécessitant une haute résolution.Caractéristiques
- Architecture RISC optimisée pour le compilateur C
- Vitesse de fonctionnement d’entrée d’horloge allant du CC à 32 MHz
- Durée d'instruction minimale de 125 ns
- Pile matérielle profonde à 16 niveaux
- Réinitialisation à la mise sous tension (POR) à faible courant
- Minuteur de mise sous tension configurable (PWRT)
- Réinitialisation en cas de baisse de tension (BOR)
- Réinitialisation en cas de baisse de tension à faible puissance (LPBOR)
- Minuteur watchdog fenêtré (WWDT)
Applications
- Capteurs de précision
- Capteurs analogiques économiques
- Capteurs analogiques économes en énergie
- Capteurs haute résolution
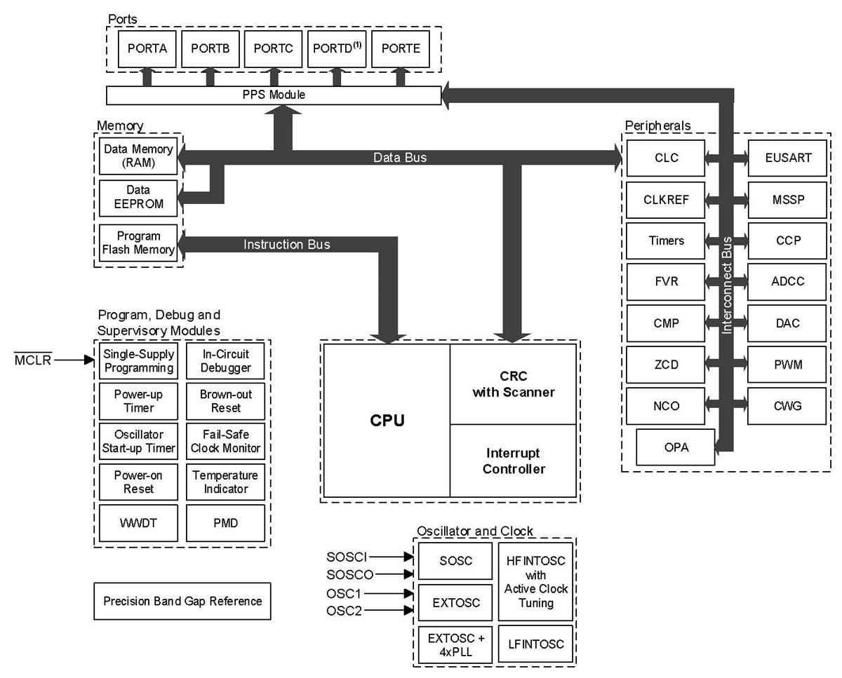
Schéma fonctionnel
Publié le: 2024-10-14
| Mis à jour le: 2025-03-25
