Microchip Technology Micro-contrôleurs 8 bits PIC12F157x Microchip
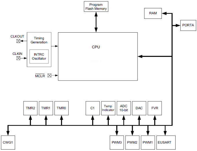
Les micro-contrôleurs 8 bits PIC12F157x de Microchip combinent les capacités des PWM 16 bits à de l'analogique intelligent pour s'adapter à une grande variété d'applications. Ces dispositifs fournissent trois PWM 16 bits avec minuteries indépendantes pour les applications où une résolution élevée est nécessaire, comme l'éclairage LED, les moteurs pas-à-pas, les alimentations et d'autres applications à usage général. Les périphériques indépendants centraux (PWM 16 bits, générateur de formes d'onde complémentaires), l'émetteur-récepteur et récepteur asynchrone synchrone universel amélioré et l'analogique intelligent (CAN, comparateurs et CNA) permettent une rétroaction à boucle fermée et une communication afin d'être utilisés dans de nombreux segments de marché, par exemple les applications LIN.Caractéristiques
- Enhanced Mid-range Core with 49 Instruction, 16 Stack Levels
- Flash Program Memory with self-read/write capability
- High Endurance Flash memory in lower byte of last 128 addresses of Program Memory (100,000 Writes min.)
- Internal clock speeds from 31kHz to 32MHz
- 3x Standalone 16-bit PWM Modules
- Complementary Waveform Generator (CWG) Module
- 4 Channel 10-bit ADC with Voltage Reference
- 5-bit Digital to Analog Converter (DAC)
- Comparator
- 2x 8-bit Timers (TMR0/TMR2)
- 1x 16-bit Timer (TMR1)
- Three additional 16-bit Timers available using the 16-bit PWMs
- Extended Watchdog Timer (WDT)
- Enhanced Power-On/Off-Reset
- Low-Power Brown-Out Reset (LPBOR)
- Programmable Brown-out Reset (BOR)
- In-Circuit Serial Programming (ICSP)
- Enhanced Universal Synchronous Asynchronous Receiver Transceiver (EUSART) (PIC12F1572 only)
- PIC12LF1571 (1.8V - 3.6V)
- PIC12F1571 (2.3V - 5.5V)
Block Diagram
Publié le: 2014-03-05
| Mis à jour le: 2022-03-11
