Microchip Technology Référence de tension à tampon de haute précision MCP1502
La référence de tension à tampon de haute précision MCP1502 de Microchip Technology est fournie avec une précision initiale de 0,10 % et est disponible en 8 options de tension. Le MCP1502 est une référence basée sur bande interdite à faible dérive (7 ppm max) et utilise des amplificateurs à base de hacheur, qui réduisent considérablement la dérive et fournissent une sortie de courant élevé.Le MCP1502 de Microchip Technology est disponible en minuscule boîtier SOT-23 2x2 et est fourni avec des qualifications AEC-Q100 de classe 1 pour usage automobile.
Caractéristiques
- Coefficient de température maximum : 7 ppm/°C de -40 °C à +125 °C
- Précision initiale 0,1 %
- Plage de température de fonctionnement : -40 °C à +125 °C
- Courant de fonctionnement standard <140 µA
- Régulation de ligne maximale 50 ppm/V
- Régulation de charge maximale 40 ppm/V
- Bruit de sortie 30 µVRMS, 0,1 Hz à 10 kHz (1,024 V)
- Homologué AEC-Q100 (applications automobiles)
- Plage de température -40 °C à +125 °C (classe 1)
- 8 variantes de tension sont disponibles
- 1,024 V
- 1.250V
- 1.800V
- 2,048 V
- 2,500 V
- 3.000V
- 3.300V
- 4,096 V
Applications
- Systèmes d'acquisition de données de précision
- Systèmes de gestion de la batterie des véhicules électriques
- Convertisseurs de données haute résolution
- Applications pour les équipements médicaux
- Commandes industrielles
- Appareils alimentés par batterie
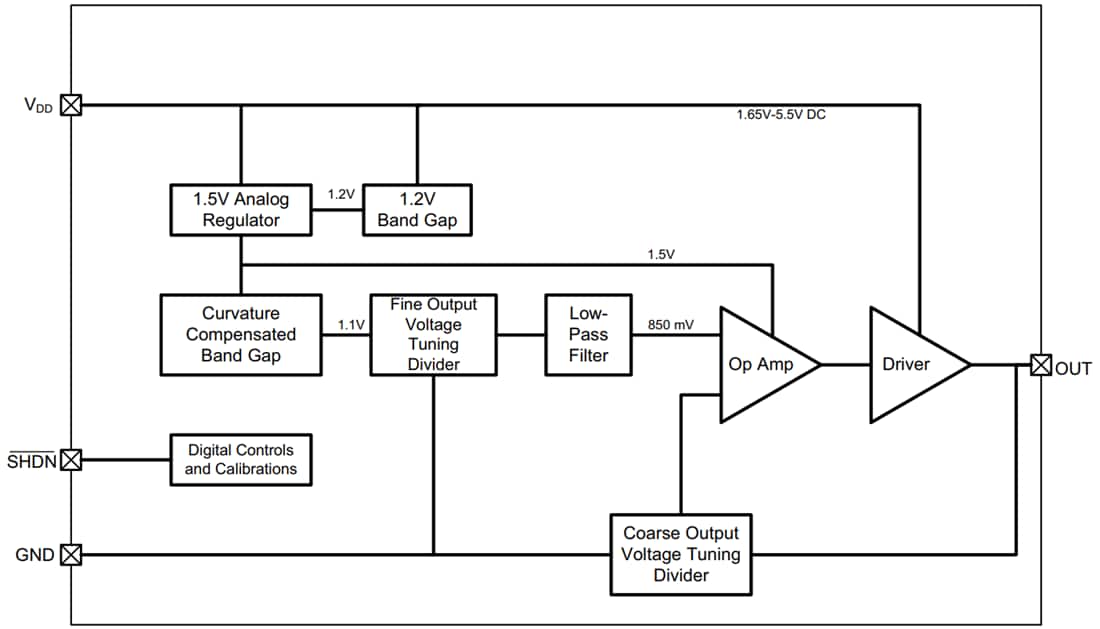
Schéma fonctionnel
Publié le: 2022-02-09
| Mis à jour le: 2022-03-22
